EasyManua.ls Logo

Franke FAK 607 - Montaj

Franke FAK 607
68 pages
Print Icon
To Next Page IconTo Next Page
To Next Page IconTo Next Page
To Previous Page IconTo Previous Page
To Previous Page IconTo Previous Page
Loading...
TR
4
42
11a
11
11
12a
22
190
190
7.3
190 190
835
362
X
1÷2
7.2.1
min. 250
max. 380
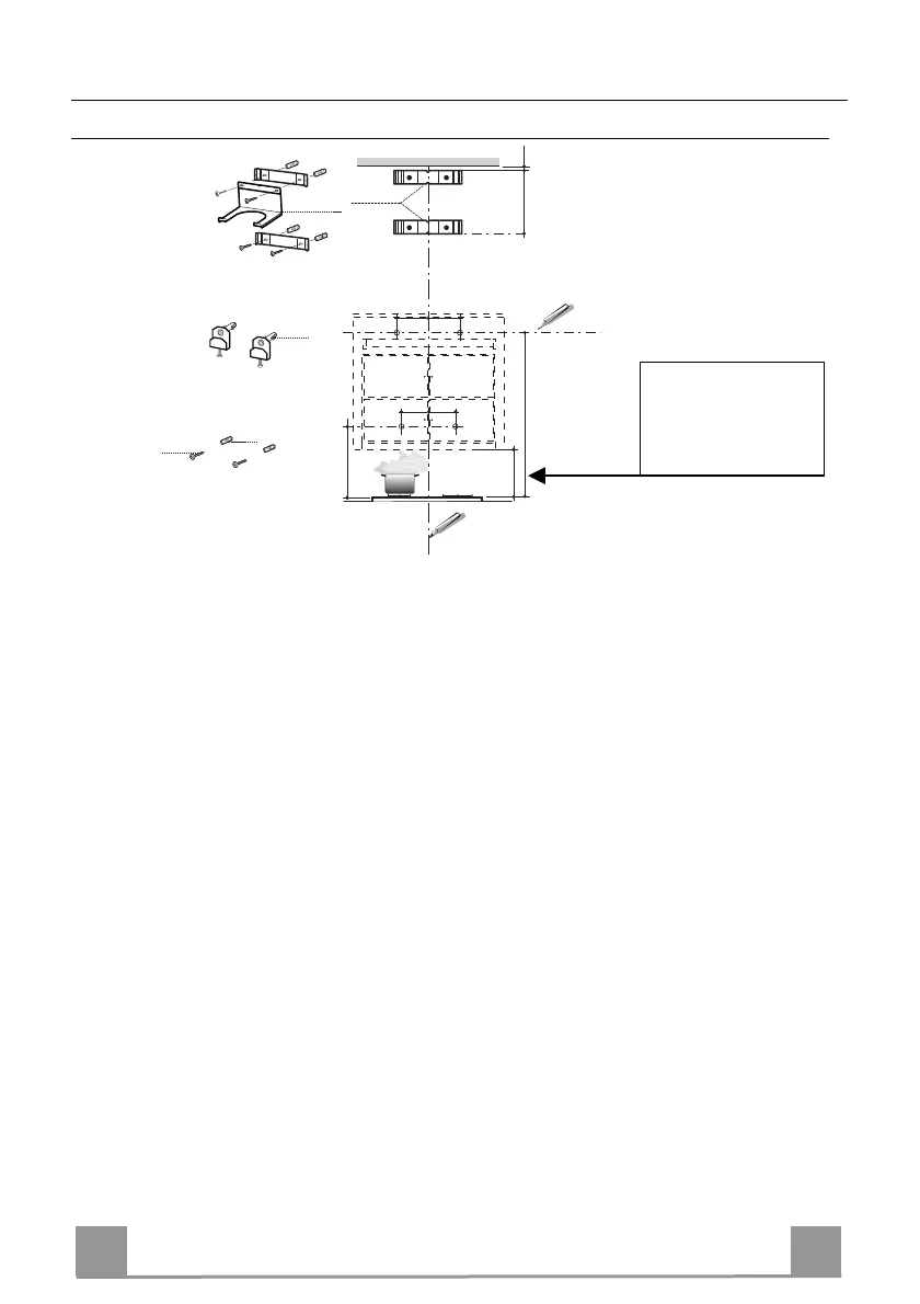
MONTAJ
Duvarın delinmesi ve kancaların vidalanması
Duvara şunları çizin:
Tavana veya üst sınıra kadar, Davlumbazın monte edilmesi öngörülen bölgenin merkezinde
bir dikey çizgi çizin;
• Pişirme hattının minimum 835 mm üzerinde yatay bir çizgi.
Dikey referans çizgisinin 190 mm sağına yatay düzlemde bir (l) noktası işaretleyin.
Terazi durumunu kontrol ederek, aynı işlemi diğer tarafta da yapın.
• Gösterildiği gibi referans (2) dikey çizgiden 190 mm ve pişirme hattından 362 mm yukarıda
bir referans noktası işaretleyin.
• Terazisine dikkat etmek sureti ile aynı işlemi diğer tarafta da tekrarlayın.
İşaretlenen noktaları (1) ø 12 mm uçla delin.
İşaretlenen noktaları (2) ø 8 mm uçla delin.
11a askılar ile dubelleri l deliklere yerleştirin ve vidalayın.
11 dubelini 2 deliğine yerleştirin.
Dekoratif bacayla kurulum için: (İsteğ
e bağlı)
Şekilde gösterildiği gibi 7.2.1 kancasını tavandan veya üst sınırdan 1-2 mm mesafede daya-
yın ve merkezini dikey referans çizgisine ayarlayın.
Kanca deliklerinin merkezini işaretleyin.
Merkezini dikey referans çizgisine ayarlayarak 7.2.1 kancasını ilk kancanın X mm altına
yaslayın (X= verilen Üst Baca yüksekliği).
• Askı delikleri merkezlerini işaretleyin.
İşaretlenen yerleri ø 8 mm çapında uçlar ile delin.
• Deliklere 11 dubellerini yerleştirin.
• Cihaz donanımında verilen vidaları 12a (4,2 x 44,4 ) kullanarak alt Braketi 7.2.1
sabitleyiniz.
• Üs Braket 7.2.1 ile rakor destek Braketini 7.3 cihaz donanımında verilen 2 adet vidayı 12a
(4,2 x 44,4 ) kullanarak birlikte sabitleyiniz.
Deliklerin ölcüleri
minumum 250 mm
güvenlik mesafesinde
ön görülmüstür

Related product manuals