EasyManua.ls Logo

FRANKLINWH aPbox - App Configuration; Initial App Setup and Login

FRANKLINWH aPbox
33 pages
Print Icon
To Next Page IconTo Next Page
To Next Page IconTo Next Page
To Previous Page IconTo Previous Page
To Previous Page IconTo Previous Page
Loading...
aPbox Manual
25
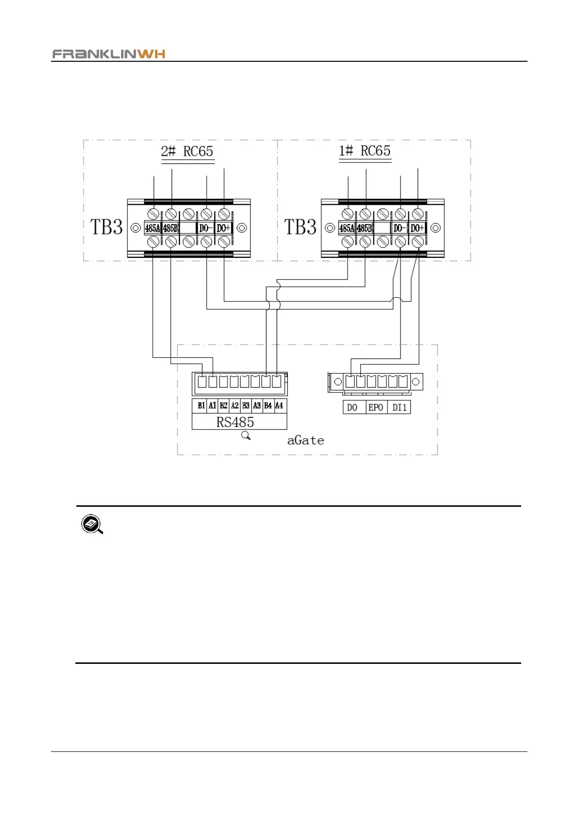
The two paralleled DO+ terminals and the two paralleled DO- terminals are connected to
the aGate DO terminals (without polarity distinction), as shown in the following figure.
Use the following diagram as a reference when making communication connections.
NOTE
The length of the communication cables between RC65 and aGate should
not exceed 328 feet (100 meters)
Use twisted pair cables for RS485 conductors.
The DO- DO+ terminals of the two RC65 should be connected in parallel,
respectively. Make sure that they are not interchanged with one another.
When two RC65 units are connected to an FHP, use 20AWG cables for DO-
and DO+ conductors.