EasyManua.ls Logo

Fujitec MO-1330 - 8. Specifications; 9. DO-1390 A 1-Phase,2-Phase Torque-Changing Controller; Adjustment for Torque; Changing Torque Wiring Diagram

Fujitec MO-1330
17 pages
Print Icon
To Next Page IconTo Next Page
To Next Page IconTo Next Page
To Previous Page IconTo Previous Page
To Previous Page IconTo Previous Page
Loading...
9.DO-1390A 1-phase , 2- phase Torque-changing Controller
1 Adjustment for Torque ( DO-1390A-2 )
For 2 types of torque , output ( of screwdriver ) to torque volume (of DO-1390A-2 ) are as follows:
(Ex Fastening with 2 types of torque)
高さ検出
高さ検出
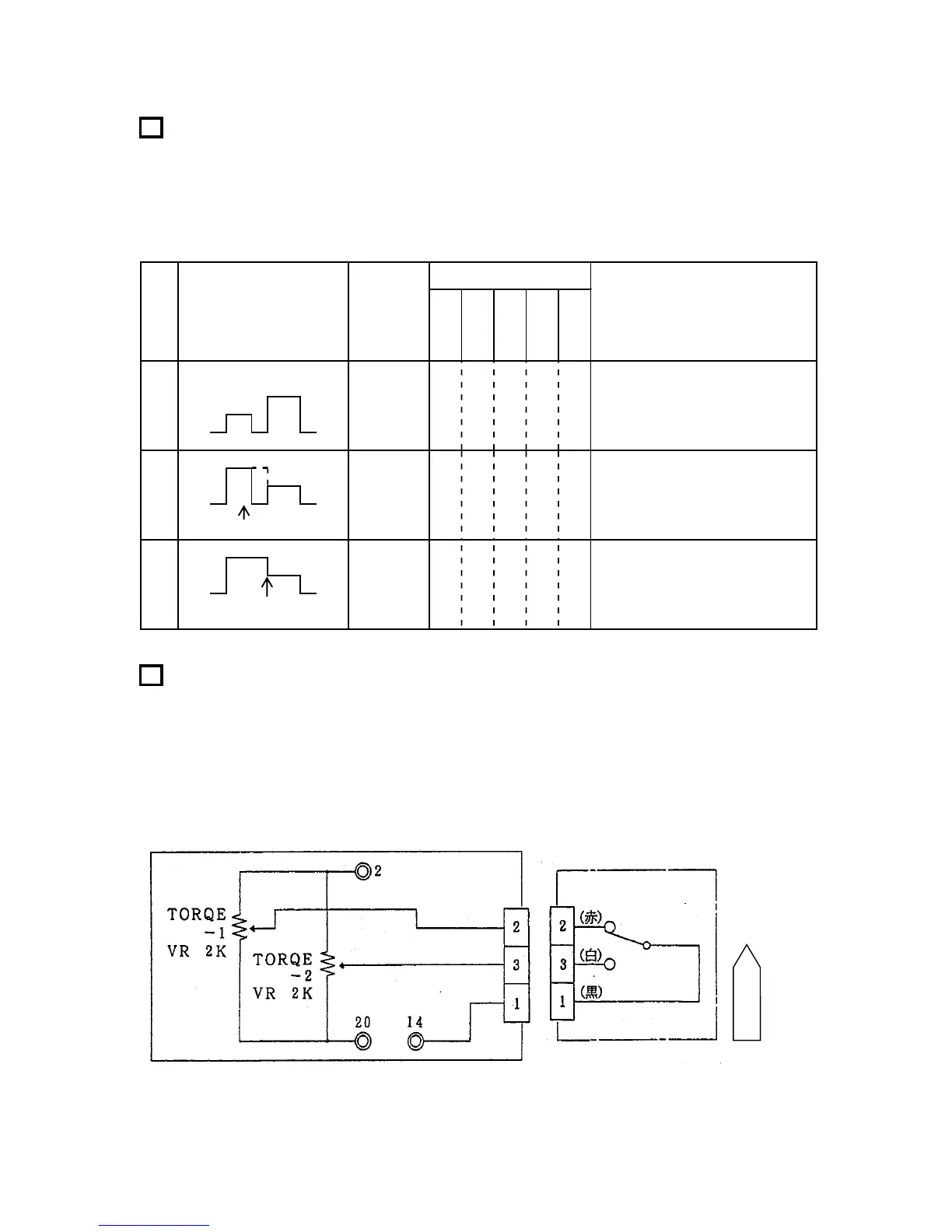
2 Changing Torque Wiring Diagram
If 2 types of torque is used, change torque by metal by metal outlet(3P) in the rear
face of DO-1390A-2. Wiring is as follows:
※Please avoid doing to make common when many use the numbe (connector NO.1 common.)
※Wiring is shown in the figure below.
DO-1390A-2 Contorol Box
T1<T2
T1
Patterns
of
fastening
T2
T1
T2
No.
*Reduce inertial energy of
motor
to fastening torque.
*Needs fastening tact.
T1>T2
t:Timer
T1
T2
*Strong start fatening torque
and weak final fastening torque
*Reduce fastening tact.
T1>T2
Machine
screws
Aptitudes and Notes
of
fastening
*Strong start fastening torque
and weak final tastening torque.
*Needs height detection and
timer.
wood
screw
Torque
lron
tapping screws
Aptitudes of screw and workpiece
Plastic
tapping board
tapping
aluminum board
Please input Torque 1 and Torque 2 by
yourself.
( Ex . Height, Timer etc)
Height detection
Height detection
molex 1396R
molex 1396R
Customer connection parts
1 Common
2 Torque 1
3 Torque 2
-11-