EasyManua.ls Logo

Furuno FA-150 - Page 29

Furuno FA-150
115 pages
Print Icon
To Next Page IconTo Next Page
To Next Page IconTo Next Page
To Previous Page IconTo Previous Page
To Previous Page IconTo Previous Page
Loading...
1. OPERATION
1-19
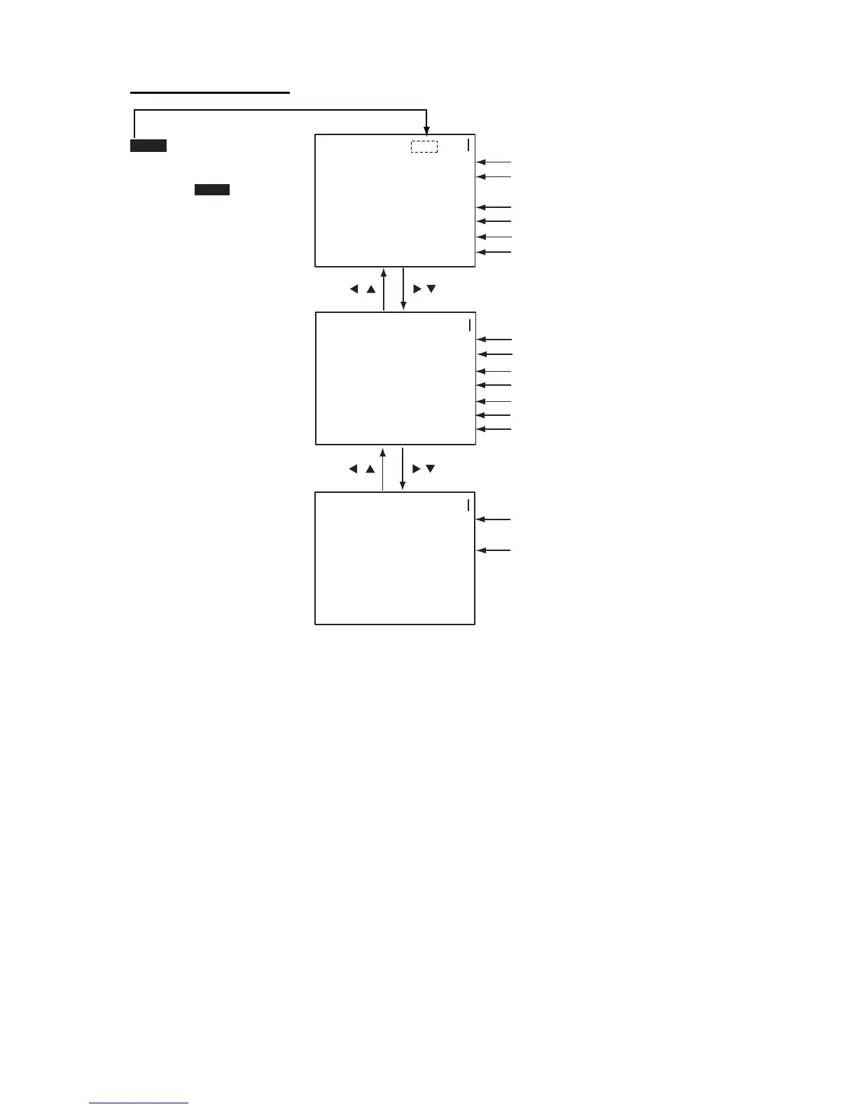
AIS-SART info display
[SART INFO] 1/3
MMSI : 970010001
STATUS: SART ACTIVE
RNG : 10.65 NM
BRG : 9.4
°
CPA : 8.83NM
TCPA : 43' 06
°
MMSI no.
Status (SART ACTIVE (NAV STATUS: 14),
SART TEST (NAV STATUS: 15))
Range
Bearing
TCPA
[SART INFO] 2/3
LAT : 34
°
03.5442'N
LON : 134
°
30.3883'E
SOG : 17.8kn
COG : 213.5
°
HDG : 213
°
ROT : R 0.1
°
/min
PA : H
Course over the ground
Heading
Rate of turn
Position Accuracy (H, High, L, Low)
Latitude
Longitude
Speed over the ground
CPA
[SART INFO] 3/3
NAV STATUS: 14
***STATUS DETAIL***
AIS SART (ACTIVE)
Navigation status
14: SART ACTIVE, 15: SART TEST
Status detail
DNGR appears when CPA/TCPA
of target is less than CPA/TCPA
setting. If no signal is received
from target, LOST appears.
6:40 later the target's data is
erased.

Table of Contents

Other manuals for Furuno FA-150

Related product manuals