EasyManua.ls Logo

Furuno FS-2575 - Date and Time Setting

Furuno FS-2575
191 pages
Print Icon
To Next Page IconTo Next Page
To Next Page IconTo Next Page
To Previous Page IconTo Previous Page
To Previous Page IconTo Previous Page
Loading...
6. MENU OPERATION
6-9
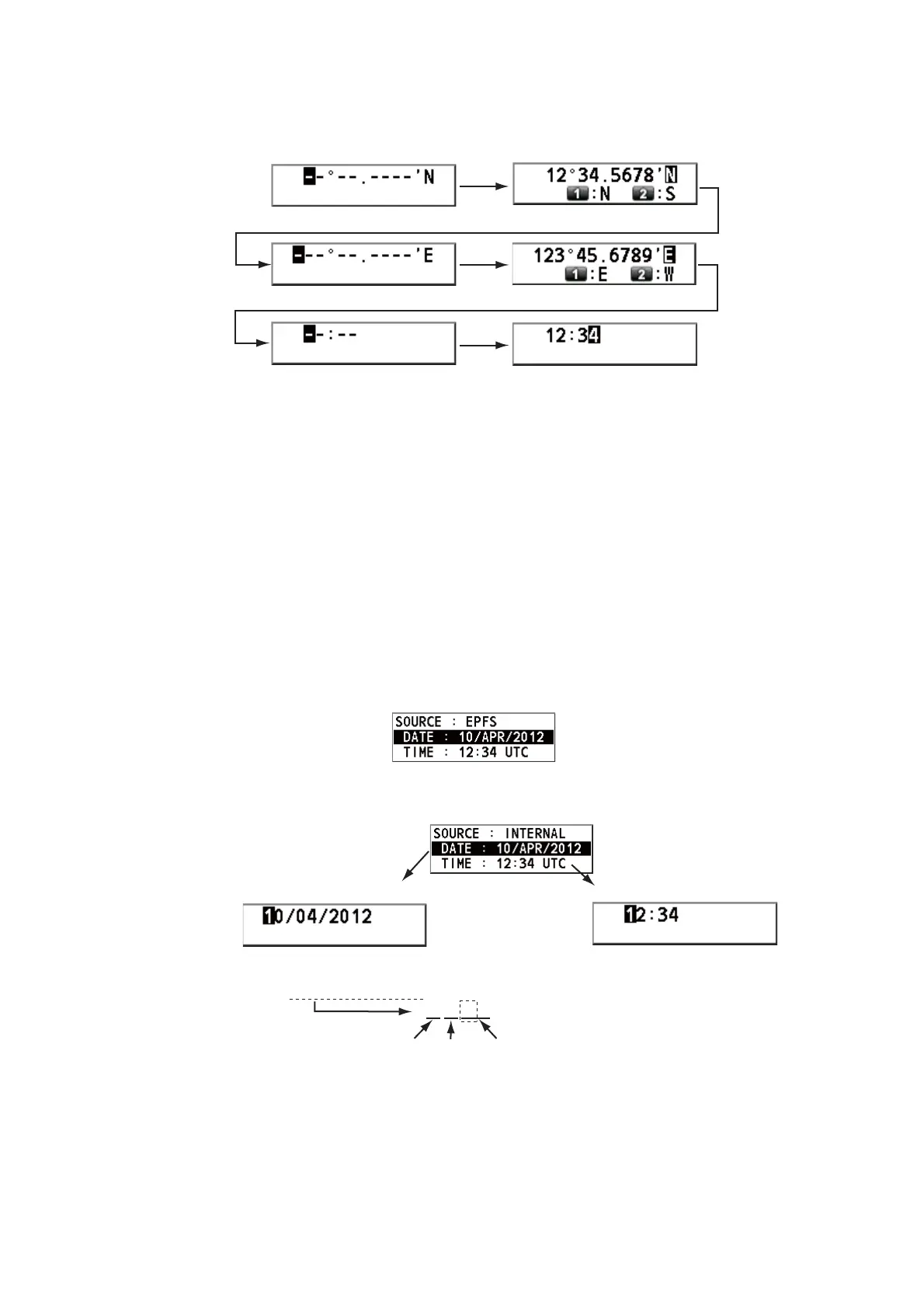
5. For manual input, use the numeric keys to enter latitude/longitude of your position,
and UTC. To change coordinate, select it and press the 1 key for North or East;
the 2 key for South or West. After entering each data, push the ENTER knob.
Note: When the setting of [INPUT TYPE] is [MANUAL], the message "WARNING: Po-
sition data is not updated! Position data was older than 4.0H. Update it. [CANCEL]:
Stop alarm" appears to ask you to update position.
6.8 Date and Time Setting
Set the date and time for the system.
1. Rotate the ENTER knob to select [SYSTEM] on the [MENU] screen then push the
knob.
2. Rotate the ENTER knob to select [DATE/TIME] then push the knob.
Date or time cannot be adjusted when they are input from GPS navigator.
If date or time is not input from GPS navigator, enter date and time with the nu-
meric keys.
Note: When manually entering date and time, use UTC (Universal Time Coor-
dinated). Do not use local time.
Setting window for latitude
Enter latitude.
Setting window for longitude
Push the
ENTER knob.
Enter longitude.
Push the
ENTER knob.
Setting window for UTC
Enter UTC then push the
ENTER knob.
Select [DATE] or [TIME]
then push the
ENTER
knob.
Setting window for [DATE]
Enter time then push the ENTER knob.
Setting window for [TIME]
Enter date then push the ENTER knob.
For example, 10/APR/2012 is entered as
100412 (20 of 2012 is fixed).
10042012
Day
Month Year

Table of Contents

Other manuals for Furuno FS-2575

Related product manuals