EasyManua.ls Logo

Gaspardo FBR Plus - Cardan Shaft Adaption; Stability of Mower and Tractor During Transport

Gaspardo FBR Plus
52 pages
Print Icon
To Next Page IconTo Next Page
To Next Page IconTo Next Page
To Previous Page IconTo Previous Page
To Previous Page IconTo Previous Page
Loading...
USE AND MAINTENANCE
ENGLISH
34
cod. G19503010
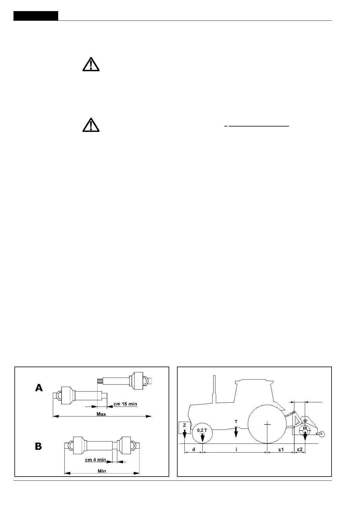
3.0.4 CARDAN SHAFT ADAPTION
The Cardan shaft, supplied with the machine, is of standard leng-
th. Therefore it might be necessary to adapt the Cardan shaft. In
that case, before doing anything, consult the Manufacturer for the
eventual adaptation.
CAUTION
- When the cardan shaft is fully extended, the two tubes must
overlap by at least 15 cm (A, Fig. 17). When fully inserted,
the minimum play must be 4 cm (B, Fig.17).
- If the implement is used on another tractor, always check
the above and that the guards copletely cover the rotating
parts of the cardan shaft.
ATTENTION
Comply with the manufacturers instructions when transpor-
ting the mowing machine.
3.0.5 STABILITY OF MOWER AND TRACTOR DURING
TRANSPORT
When a mower is coupled to a tractor, so becoming an integral part
of it for the purposes of road travel, the stability of the mower-tractor
complex may change and cause driving or operating dif culties
(rearing up or side-slipping of the tractor). The condition of equili-
brium can be restored by placing a suf cient number of ballasts on
the front of the tractor so that the weights on the two tractor axles
are distributed suf ciently evenly. To work in safety the instructions
given in the highway code should be followed; these prescribe that
at least 20% of the weight of the tractor alone should be borne by
the front axle and that the weight on the arms of the hoist should
not be more than 30% of the weight of the tractor itself. These
factors are summarized in the following formulas:
Z > [M x (s1+s2)]-(0.2 x T x i)
(d+i)
The symbols have the following meanings (please see Fig. 18 for
reference):
M (Kg) Mass weighing on arms off hoist with full load (weight +
mass, see cap. 1.2 Identi cation).
T (Kg) Mass of tractor.
Z (Kg) Total mass of ballast.
i (m) Tractor wheelbase, that is, the horizontal distance between
the tractor axles.
d (m) Horizontal distance between the centre of gravity of the
ballast and the front axle of the tractor.
s1 (m) Horizontal distance between the inferior point of attach-
ment of the equipment and the posterior axle of the tractor
(equipment supported to the ground).
s2 (m) Horizontal distance between the barycentre of the equip-
ment and the inferior point of attachment of the equipment
(equipment supported to the ground).
The amount of ballast that should be applied according to the
formula is the minimum required for circulation on the road. If for
reasons of tractor performance or to improve the set-up of the
mower during operation it is thought necessary to raise these
values, please refer to the registration document of the tractor to
check its limits. When the formula for calculating the ballast gives
a negative result it will not be necessary to add any weight. In any
case, as long as the limits of the tractor are respected, a suitable
quantity of weights may be applied in order to ensure greater
stability during travel.
Fig. 17
Fig. 18
410
mm

Table of Contents

Related product manuals