EasyManua.ls Logo

GE P442 - Logic Diagram for the Basic Scheme; Main Protection in the Basic Scheme

GE P442
622 pages
Print Icon
To Next Page IconTo Next Page
To Next Page IconTo Next Page
To Previous Page IconTo Previous Page
To Previous Page IconTo Previous Page
Loading...
Application Notes
P44x/EN AP/Hb
6
MiCOM P40 Agile P442, P444
(AP) 5-
47
provide main protection for the line or cable as shown in Figure 22 below, with zone 3
reaching further to provide back up protection for faults on adjacent circuits.
ZL
Z1A
B
P3050ENa
A
Z1B
Z2A
Z2B
Figure 22: Main protection in the basic scheme (no requirement for signalling
channel)
Key:
A, B = Relay locations;
ZL = Impedance of the protected line.
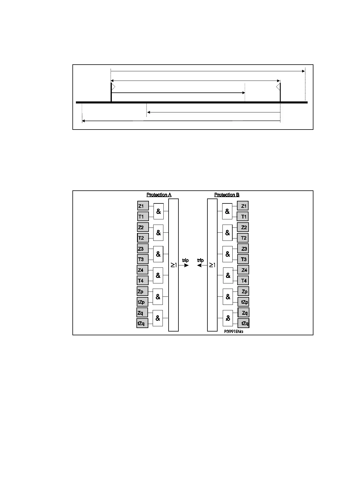
Figure 23: Logic diagram for the basic scheme
Figure 23 shows the tripping logic for the Basic scheme. Note that for the P442 and P444
relays, Zone time-delays are started at the instant of fault detection (T1 to T4, tZp and tZq
start at the end of this time delay). Protection zones are stabilised to avoid maloperation for
transformer magnetising inrush current. The method used to achieve stability is based on
second harmonic current detection.
The Basic scheme incorporates the following features:
Instantaneous zone 1 tripping. Alternatively, zone 1 can have an optional time delay of
0 to 10 s.
Time delayed tripping by zones 2, 3, 4, p and q. Each with a time delay set between 0
and 10 s.
The Basic scheme is suitable for single or double circuit lines fed from one or both ends. The
limitation of the Basic scheme is that faults in the end 20% sections of the line will be cleared
after the zone 2 time delay. Where no signalling channel is available, then improved fault
clearance times can be achieved through the use of a zone 1 extension scheme or by using
loss of load logic, as described below. Under certain conditions however, these two schemes

Table of Contents

Related product manuals