EasyManua.ls Logo

GE P442 - Page 448

GE P442
622 pages
Print Icon
To Next Page IconTo Next Page
To Next Page IconTo Next Page
To Previous Page IconTo Previous Page
To Previous Page IconTo Previous Page
Loading...
P44x/EN CM/H
b6
Commissioning
(
CM) 9-24
MiCOM P40 Agile P442, P444
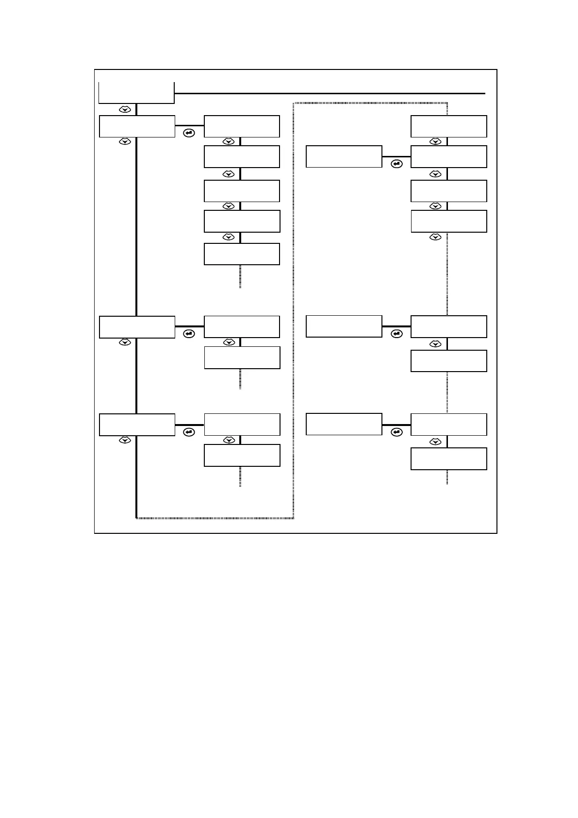
MEASURE'T SETUP
Default Displ
ay
Description
Default Display
Description
Default Display
Date and Time
Default Display
P - P
Default Display
U - I Freq
Default Display
Plant Reference
Local Values
Secondary
Local Values
Secondary
Remote Values
Secondary
Remote Values
Secondary
Remote Values
Primary
Local Values
Primary
Measurement Ref
VA
Measurement Ref
VB
Measurement Ref
VA
Measurement Ref
IA
Measurement Ref
IB
P3016ENa
Measurt Mode
0
Measurt Mode
0
Measurt Mode
1
Demand Interval
30.00 mins
Demand Interval
30.00 mins
Demand Interval
29.00 mins
Figure 6: Measurement setup/LCD menu

Table of Contents

Related product manuals