EasyManua.ls Logo

Godox TT685 - Name of Parts; Body; Control Panel; LCD Panel

Godox TT685
14 pages
Print Icon
To Next Page IconTo Next Page
To Next Page IconTo Next Page
To Previous Page IconTo Previous Page
To Previous Page IconTo Previous Page
Loading...
RST
SET
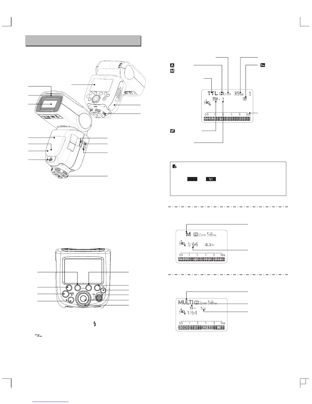
01. Catchlight Panel
02. Built-in Wide Panel
03. Flash Head
04. Optic Control Sensor
05. Focus Assist Beam
06. Wireless Control Port
07. Sync Cord Jack
08. Hotshoe
09. Dot-marix LCD Panel
10. Lock Ring
11. Battery Compartment
12. USB Port
13. Slave Flash Ready Indicator
14. External Power Supply Socket
Body
15. <MODE> Mode Selection
Button / Lock button
16. < >Wireless Selection
Button
17. Select Dial
18. <SET> Set Button
19. ON/OFF Power Switch
20. < > Test Button / Flash
Ready Indicator
21. Function Button 1
22. Function Button 2
23. Function Button 3
24. Function Button 4
Control Panel
LCD Panel
Name of Parts
21
22
23
15
20
18
19
16
24
17
(1) TTL Autoflash
Zoom : zoom display (Page 44)
: Automatic
: Manual(Page 35)
TTL : TTL autoflash
Focus length (Page 44)
: High-speed sync
(Page 34)
: Flash exposure
compensation (Page 33)
Distance indicator
display
Flash exposure
compensation amount
(2) M Manual Flash
The display will only show the settings currently applied.
The functions displayed above function buttons 1 to 4, such
as and , change according to settings’ status.
When a button or dial is operated, the LCD panel
illuminated.
M : Manual flash
Manual flash output
(3) Multi Stroboscopic Flash
Multi : Stroboscopic flash
Number of flashes
Flash frequency
09
06
07
12
08
10
11
05
13
04
03
02
01
14
SYNC
- 29 - - 30 -

Related product manuals