EasyManua.ls Logo

Goodman AM9S80 - Page 17

Goodman AM9S80
55 pages
Print Icon
To Next Page IconTo Next Page
To Next Page IconTo Next Page
To Previous Page IconTo Previous Page
To Previous Page IconTo Previous Page
Loading...
SYSTEM OPERATION
17
Proper Chimney
Termination?
(Check 1)
Line, terminate with
listed vent cap

No
Yes
Chimney channel
free of solid and
liquid fuel
appliances?
(Check 2)
Change venting
arrangements

No
Yes
Crown in good
condition
(Check 3)
Rebuild crown

and/or Reline

Yes
No
Yes
No
No
Reline

Reline

Cleanout free of
debris?
(Check 4)
Liner in good
condition?
(Check 5)
Yes
Yes
No
Reline

Dilution air
available?
(Check 6)
Complete the
installation.
(Check 7)


         

feet higher than any portion of a building within a horizontal
distance of 10 feet. In addition, the chimney must terminate
at least 3 feet above any forced air inlet located within 10


If the chimney does not meet these termination require-
ments, but all other requirements in the checklist can be


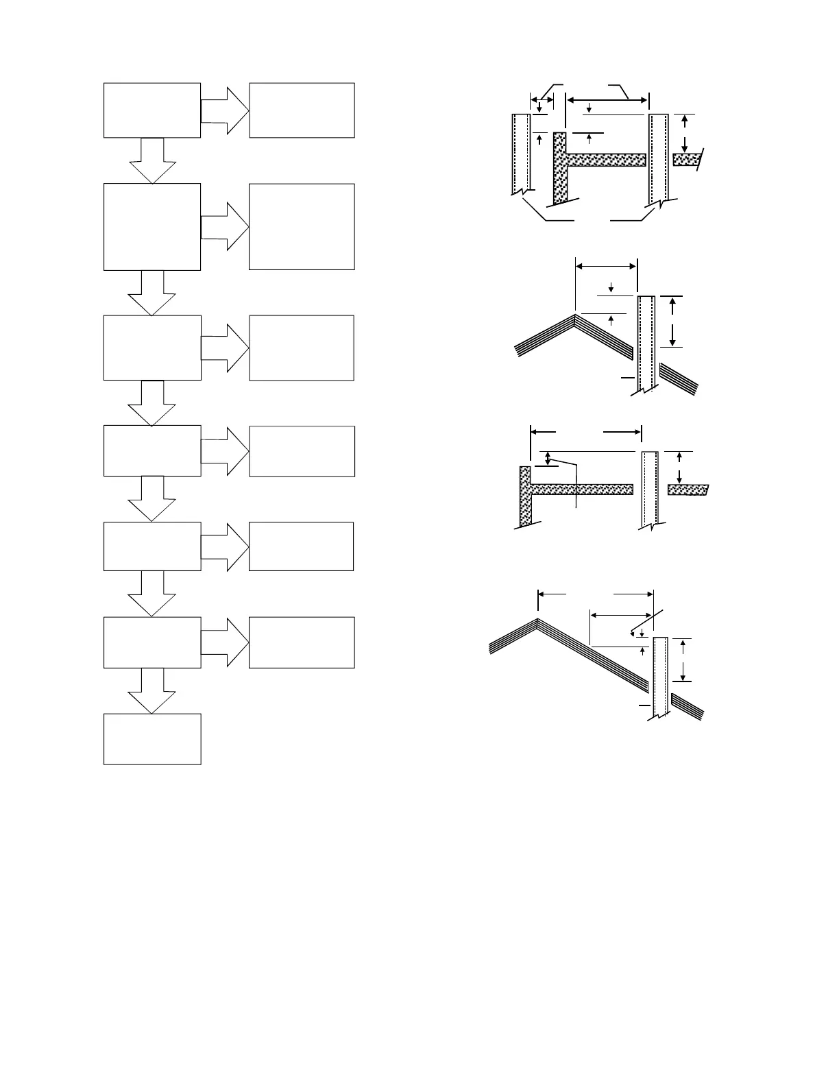
2' Min.
2' Min.
3' Min.
10' or Less
Wall or
Parapet
Chimney
Ridge
2' Min.
10' or Less
3' Min.
Chimney

Wall or
Parapet
Chimney
: No Height
above parapet
required when distance
from walls or parapet is
more than 10 feet.
More than 10'
3' Min.
Ridge
3' Min.
Chimney
2' Min.
More than 10'
10'
Height above any
roof surface within
10 feet horizontally.

-


furnaces, and incinerators. Liquid fuel appliances include oil
-
ances which burn propane (sometimes referred to as LP (liq-


        
crown. If any of the following trouble signs are present, the
condition of the crown is not satisfactory:
a. Crown leaning
b. Bricks missing
c. Mortar missing