EasyManua.ls Logo

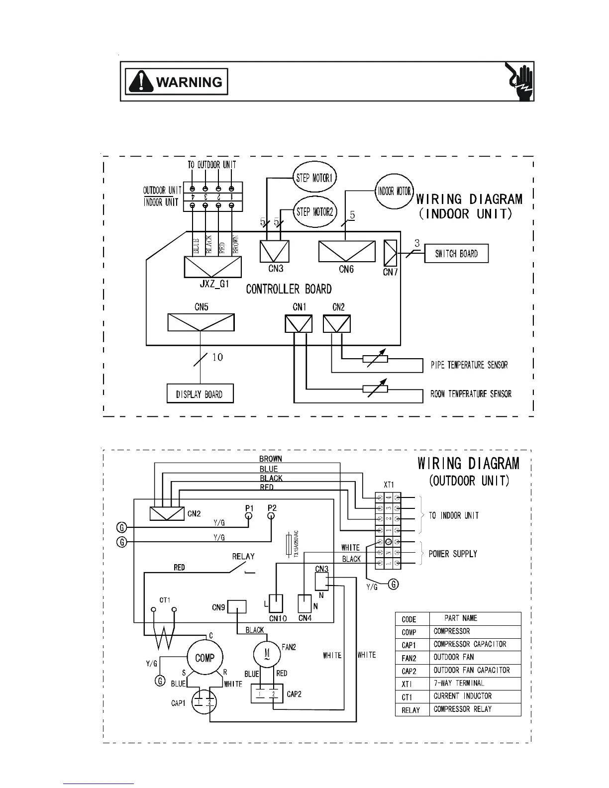
Goodman MSG-12HRN1W - Wiring Diagrams; MSG-12 CRN1 Wiring; Indoor Unit Wiring (MSG-12 CRN1); Outdoor Unit Wiring (MSG-12 CRN1)

Goodman MSG-12HRN1W
30 pages
Print Icon
To Next Page IconTo Next Page
To Next Page IconTo Next Page
To Previous Page IconTo Previous Page
To Previous Page IconTo Previous Page
Loading...
WIRING DIAGRAMS
27
HIGH VOLTAGE!
DISCONNECT ALL POWER BEFORE SERVICING OR INSTALLING THIS
UNIT. MULTIPLE POWER SOURCES MAY BE PRESENT. FAILURE TO
DO SO MAY CAUSE PROPERTY DAMAGE, PERSONAL INJURY OR DEATH.
OUTDOOR UNIT
MSG-12CRN1
INDOOR UNIT

Related product manuals