EasyManua.ls Logo

Goulds MODEL VIT - Page 10

Goulds MODEL VIT
72 pages
Print Icon
To Next Page IconTo Next Page
To Next Page IconTo Next Page
To Previous Page IconTo Previous Page
To Previous Page IconTo Previous Page
Loading...
10
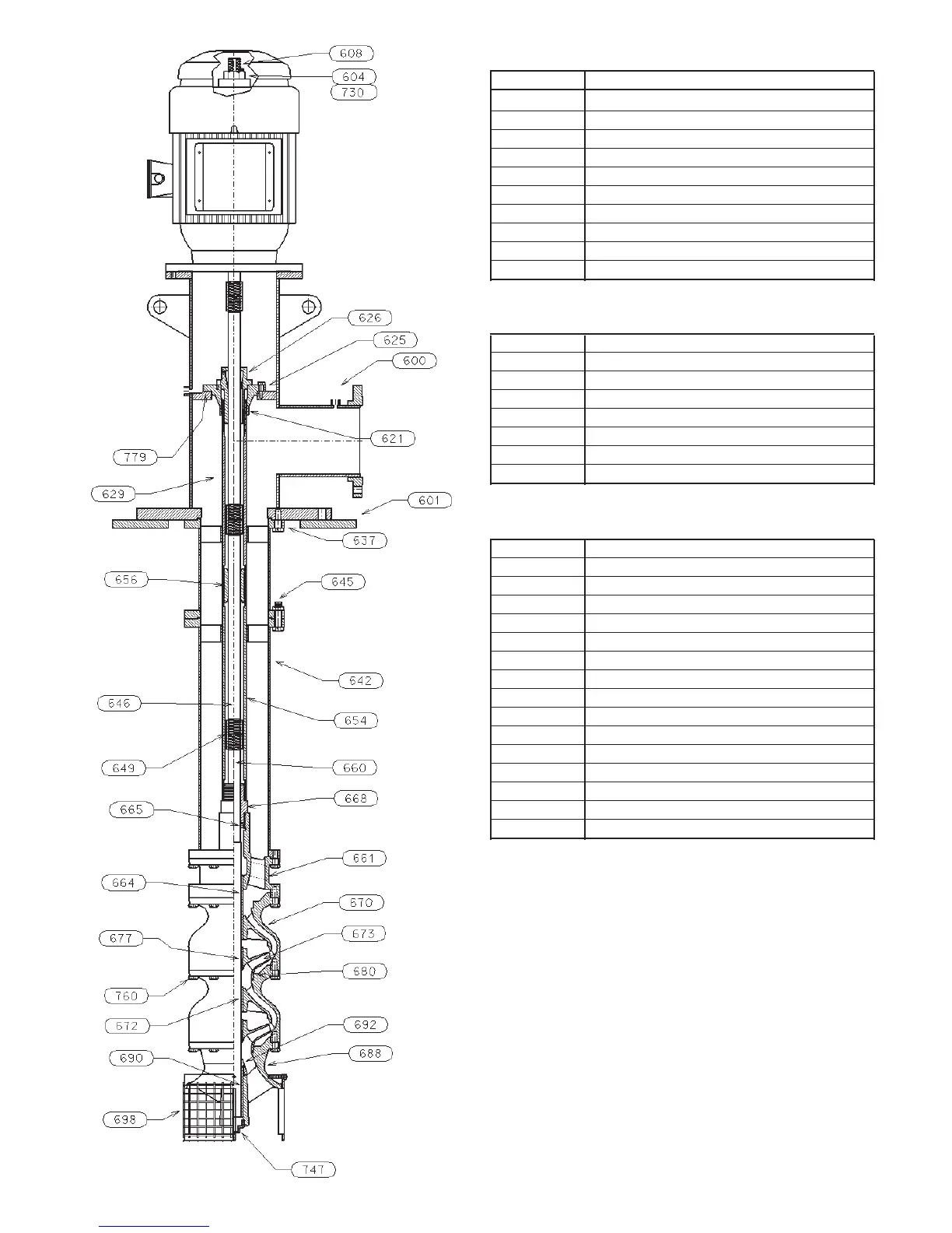
HEAD ASSEMBLY
ITEM DESCRIPTION
600 DISCHARGE HEAD
604 ADJUSTING NUT
608 HEADSHAFT
621 O-RING
625 TENSION PLATE
626 TENSION NUT
630 OIL RESERVOIR
637 COLUMN FLANGE
730 GIB KEY
779 TENSION PLATE GASKET
COLUMN ASSEMBLY
629 TUBE NIPPLE
642 COLUMN PIPE
645 COLUMN BOLTING
646 LINESHAFT
649 LINESHAFT COUPLING
654 OIL TUBE
656 LINESHAFT BEARING
658 TUBE STABLIZER
BOWL ASSEMBLY
660 BOWL SHAFT
661 DISCHARGE BOWL
664 DISCHARGE BEARING
665 OIL SEAL
668 TUBE ADAPTER BEARING
670 INTERMEDIATE BOWL
672 INTERMEDIATE BOWL BEARING
673 IMPELLER
677 TAPERLOCK
680 WEAR RING (OPTIONAL)
688 SUCTION BOWL/BELL
690 SUCTION BEARING
692 SAND COLLAR
698 SUCTION STRAINER
747 PLUG
760 HEX BOLT
Figure 4 Enclosed Lineshaft Pump with
Flanged Column

Table of Contents

Related product manuals