EasyManua.ls Logo

Goulds MODEL VIT - Page 49

Goulds MODEL VIT
72 pages
Print Icon
To Next Page IconTo Next Page
To Next Page IconTo Next Page
To Previous Page IconTo Previous Page
To Previous Page IconTo Previous Page
Loading...
49
Figura 7
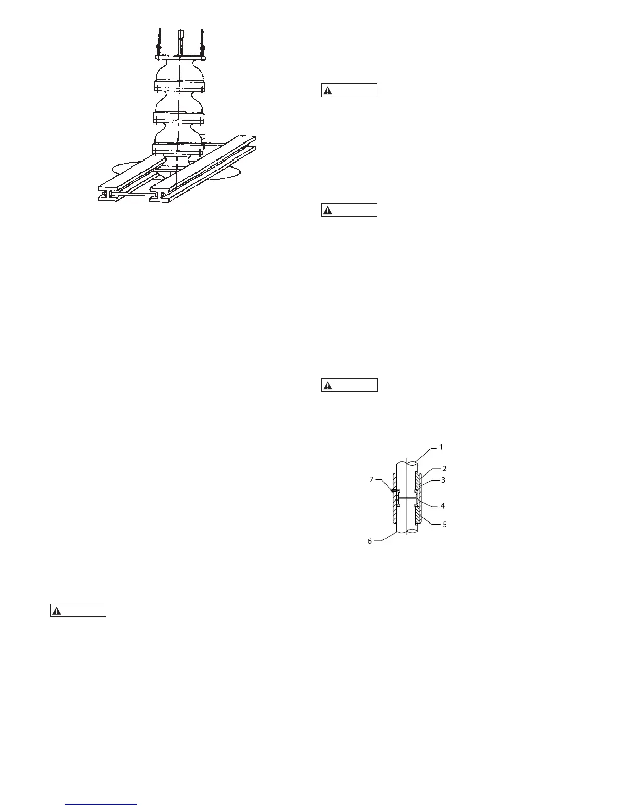
3. Coloque un malacate o grúa de brazo móvil
apropiados sobre la abertura de la placa base con el
gancho en el centro.
4. Si se le proporciona un filtro de succión, ensámblelo
dentro de la campana de succión (o tazón de
succión).
5. Coloque las abrazaderas de izaje exactamente debajo
del tazón de descarga. Para la columna bridada
instalar dos cáncamos roscados a través de los
orificios de descarga de 180º tazón aparte para la
columna bridada. Para la descarga roscada utilizar
un asa para levantar dimensionada para soportar el
peso del conjunto de tazón y un aparato de succión.
6. Ate una eslinga a las abrazaderas de izaje, argollas,
o la libertad bajo fianza de elevación y grúa en su
posición sobre la abertura de la fundación. (ver
Figura 7).
7. Baje cuidadosamente el ensamble del tazón,
dirigiendo la unidad para que no golpee los lados de
la abertura. Continúe bajando el ensamble de tazón
hasta que las abrazaderas de izaje o las bridas del
tazón de descarga descansen firmemente sobre los
soportes de viga tipo I.
8. Coloque una cubierta sobre la abertura del tazón
de descarga para evitar la entrada de suciedad u
otra materia extraña hasta que esté listo para la
instalación del ensamble de la columna.
No tire ningún objeto extraño dentro del
ensamble de tazón. Dichos objetos pueden
causar daños graves a la bomba y cualquier componente
flujo abajo. Cualquier objeto extraño que haya caído en
el ensamble de tazón se debe sacar antes de continuar
con el montaje.
COLUMNA
EJE INTERMEDIO ABIERTO
Los ejes intermedios se unen con acoplamientos roscada
o enchavetado. La tubería de la columna puede ser
roscada o con bridas. En caso de proporcionarse,
consulte el Plano Certificado de Ensamble de la Bomba
para ver el número de secciones de columna y ejes que se
requieren. Las secciones superior e inferior pueden tener
longitudes especiales:
1. Revise la rectitud del eje intermedio (646); la
excentricidad total promedio no debe exceder
0.0005” TIR (lectura total del medidor) por pie,
para no exceder 0.005” TIR por cada 10 pies de eje.
La sección inferior del tubo de columna no
debe ser más larga de 5 pies.
2. Levante la primera pieza de eje intermedio sobre
el ensamble de tazón. Bájela hasta que el extremo
inferior esté apropiadamente alineado con el aco-
plamiento del eje de la bomba. Aplique una delgada
capa de aceite a las roscas del eje intermedio (646) y
del acoplamiento (649) (para materiales no gripa-
dos, o Molykote para materiales gripados).
Use Molykote de Dow Corning o un pro-
ducto equivalente para todo el material
gripado como el acero inoxidable 316.
3a. Con el eje intermedio en la posición apropiada sobre
el acoplamiento, atornille a mano el eje intermedio
al acoplamiento hasta que sienta resistencia.
Puede usar un alambre fino insertado al orificio
en el centro del acoplamiento como medidor
para determinar cuándo está el acoplamiento
correctamente posicionado en el eje. Quite el
alambre después de instalar el eje. Apriete la junta
por completo con un par de llaves de tubo. Tenga
cuidado de no dañar ningún área del cojinete radial
del eje. NOTA: las roscas del eje son izquierdas.
Una las juntas de rosca de manera manual
para asegurarse que estén apropiadamente
alineadas antes de aplicar una llave. Si se daña alguna
rosca, desensamble la junta y repare la rosca. Si no se
puede reparar la rosca, reemplace la parte dañada.
3b. Con un acoplamiento
enchavetado insertar la
llave en el eje de la bomba.
Bajar el manguito sobre
el eje de la bomba, a
aproximadamente 1,0 en
(25,4 mm) por debajo
de la parte superior del
eje. Después baje el eje
de transmisión hasta que
toque el eje de la bomba.
Insertar el anillo partido
en las ranuras del eje de
la bomba y del eje de
transmisión. Levante la cubierta hasta que cubre
el anillo partido, luego inserte la llave en el eje de
transmisión. Elevar el manguito a la parte superior
de la tecla y asegurar la manga del anillo partido con
un tornillo de bloqueo y alambre de bloqueo.
4. En el caso de una columna roscada, coloque una
abrazadera de fricción inmediatamente debajo del
acoplamiento de la columna. Levante la sección
de la columna sobre el ensamble de tazón. Baje la
columna sobre el eje intermedio hasta que el tubo
de la columna coincida con el tazón de descarga.
Enrósquela a mano al tazón de descarga y luego
apriétela con tenazas de cadena hasta que el extremo
de la columna se empalme firmemente contra el
tazón de descarga.
PRECAUCIÓN
PRECAUCIÓN
PRECAUCIÓN
PRECAUCIÓN
1. Línea de eje
2. manga
3. clave
4. dividir ing
5. clave
6. eje de la bomba
7. Bloqueo de tornillo /
alambre de seguridad

Related product manuals