EasyManua.ls Logo

Graco 224350 - Mounting Hole Layout

Graco 224350
28 pages
Print Icon
To Next Page IconTo Next Page
To Next Page IconTo Next Page
To Previous Page IconTo Previous Page
To Previous Page IconTo Previous Page
Loading...
26 308118
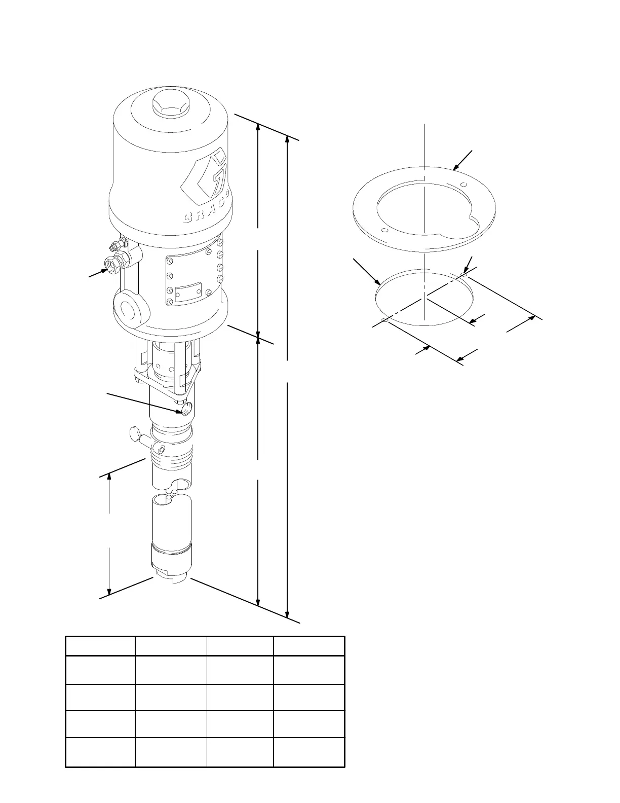
Pump Model A B C
224348 57.31 in. 14.63 in. 42.68 in.
(1456 mm) (372 mm) (1084 mm)
256713 58.19 in. 14.63 in. 43.56 in.
(1478 mm) (372 mm) (1106 mm)
224350 54.28 in. 11.60 in. 42.68 in.
(1379 mm) (295 mm) (1084 mm)
256714 55.16 in. 11.60 in. 43.56 in.
(1401 mm) (295 mm) (1106 mm)
Model 224348 Shown
A
C
Model 224348:
3/8 npsm(f);
Model 224350:
3/8 npt(f)
AIR INLET
3/4 npt(f)
FLUID OUTLET
B
0200A
34.75 in.
(883 mm)
MAXIMUM
Dimensions Mounting Hole
Layout
0.28” (7.1 mm) DIA.
5.0”
(127 mm)
2.5”
(64 mm)
4.38”
(111.3 mm)
DIA.
USE GASKET 166392
(ORDER SEPARATELY)
0775
0200A

Related product manuals