EasyManua.ls Logo

Graco 237-004 - Disconnecting the Displacement Pump; Reconnecting the Displacement Pump

Graco 237-004
20 pages
Print Icon
To Next Page IconTo Next Page
To Next Page IconTo Next Page
To Previous Page IconTo Previous Page
To Previous Page IconTo Previous Page
Loading...
13
306–694
Service
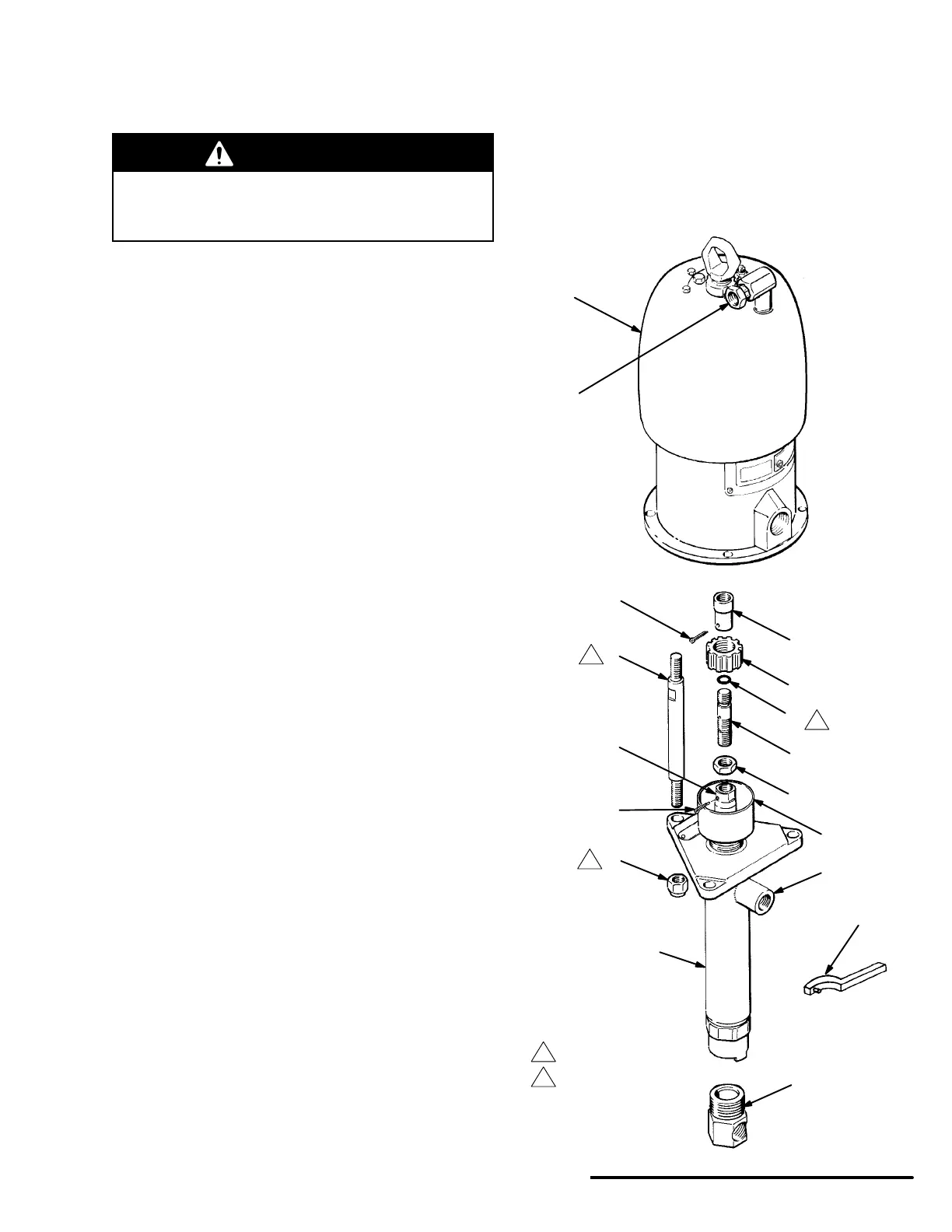
DISCONNECTING
THE DISPLACEMENT PUMP
WARNING
T
o reduce the risk of serious injury whenever you
are instructed to relieve pressure, always follow the
Pressure Relief Procedure
on page 8.
1.
Flush the pump if possible. Stop the pump at the
bottom of its stroke. Relieve the pressure.
2.
Disconnect the air and fluid hoses. Remove the
pump from its mounting. Note the relative position
of the pump’s fluid outlet to the air motor
s air inlet.
3.
Remove the upper cotter pin (1) and unscrew the
coupling nut (10) from the air motor (16). Unscrew
the tie rod locknuts (3) from the tie rods (9). Care
-
fully pull the displacement pump (17) away from
the motor
.
4.
Loosen the packing nut (R). Loosen the jam nut
(4). Remove the lower cotter pin (1) from the
displacement rod (U). Unscrew the connecting rod
(12) from the displacement rod (U) and from the
coupling (11). See Fig 2.
5.
Refer to the separate manual 307–862 for dis
-
placement pump service instructions.
6.
Refer to the air motor instruction manual supplied
with your pump for air motor service instructions
(307–049 for Standard Bulldog Motors, and
307–304 for Quiet Bulldog Motors).
RECONNECTING THE DISPLACEMENT PUMP
1.
Inspect the o–ring (7) on the connecting rod (12)
and replace if necessary
. Lubricate the threads of
the connecting rod (12). Insert the coupling (1
1) in
the coupling nut (10) and screw the coupling onto
the connecting rod (12) so the holes in the cou
-
pling align with the top holes in the rod.
2.
Screw the connecting rod (12) into the displace
-
ment rod (U) until the holes in both parts are
aligned. Install the lower cotter pin (1). T
ighten the
jam nut (4) down against the displacement rod (U).
See Fig 2.
3.
Orient the pump’s fluid outlet to the air motor
s air
inlet as was noted in step 2 under
Disconnecting
the Displacement Pump.
Position the displace
-
ment pump (17) on the tie rods (9).
4.
Screw the locknuts (3) onto the tie rods (9) loosely
.
Screw the coupling nut (10) onto the air motor
(16). Install the upper cotter pin (1).
5.
Mount the pump and reconnect all hoses. Recon
-
nect the ground wire if it was disconnected during
repair.
6. T
ighten the tie rod locknuts (3) evenly
, and torque
to 40–50 ft–lb (54–68 N.m).
7. T
ighten the packing nut/wet–cup (R) with the
wrench (5) supplied, so it is just snug – no tighter
.
Fill the wet–cup half full with Graco Throat Seal
Liquid or compatible solvent. Start the pump and
run it slowly
, at about 20 psi (140 MPa, 1.4 bar) air
pressure, to check that it is operating properly
.
16
17
12
5
10
11
1
7
9
3
U
4
8
R
MODEL
217–579
SHOWN
1
AIR INLET
FLUID OUTLET
Fig.
2
1
2
Torque
to 40–50 ft-lb
(54–68 N
m)
Lubricate
1
2
1

Related product manuals