EasyManua.ls Logo

Graco Dyna–Star 239882 - Dimensions and Mounting Hole Layout

Graco Dyna–Star 239882
28 pages
Print Icon
To Next Page IconTo Next Page
To Next Page IconTo Next Page
To Previous Page IconTo Previous Page
To Previous Page IconTo Previous Page
Loading...
308155 27
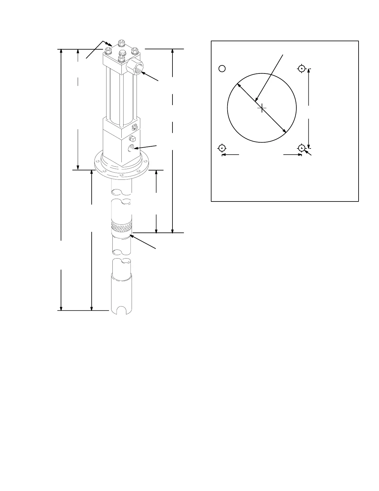
Dimensions and Mounting Hole Layout
3.536 in.
(90.424 mm)
3 in (76.2 mm)
minimum diameter
clearance hole
Clearance for, OR
tap 5/16–18,
Typical 4 places
NOTE: Pump body orientation is
square with mounting holes.
3.536 in.
(90.424 mm)
8.62 in.
(219 mm)
Displacement
Pump
23.37 in.
(594 mm)
Model 224741
34.3 in.
(871 mm)
Displacement
Pump and
Drop Tube
3/8 npt(f)
hydraulic
supply port
1 1/2” npt
fluid inlet
(stubby pump)
14.75 in.
(375 mm)
Reciprocator
Model
239882
and
217222
3/4 npt(f)
hydraulic return port
1/2 npt(f)
fluid outlet port
49 in.
(1245 mm)
Model 224742
06150B

Related product manuals