EasyManua.ls Logo

Graco GH230 - Sprayer & OEM Kits Parts Drawing; Parts Drawing - Sprayers, OEM Kits

Graco GH230
36 pages
Print Icon
To Next Page IconTo Next Page
To Next Page IconTo Next Page
To Previous Page IconTo Previous Page
To Previous Page IconTo Previous Page
Loading...
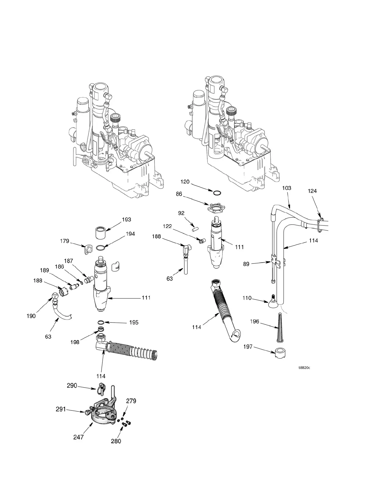
Parts Drawing - Sprayers, OEM Kits
28 311797S
Parts Drawing - Sprayers, OEM Kits
GH200/230/300
GH130

Related product manuals