EasyManua.ls Logo

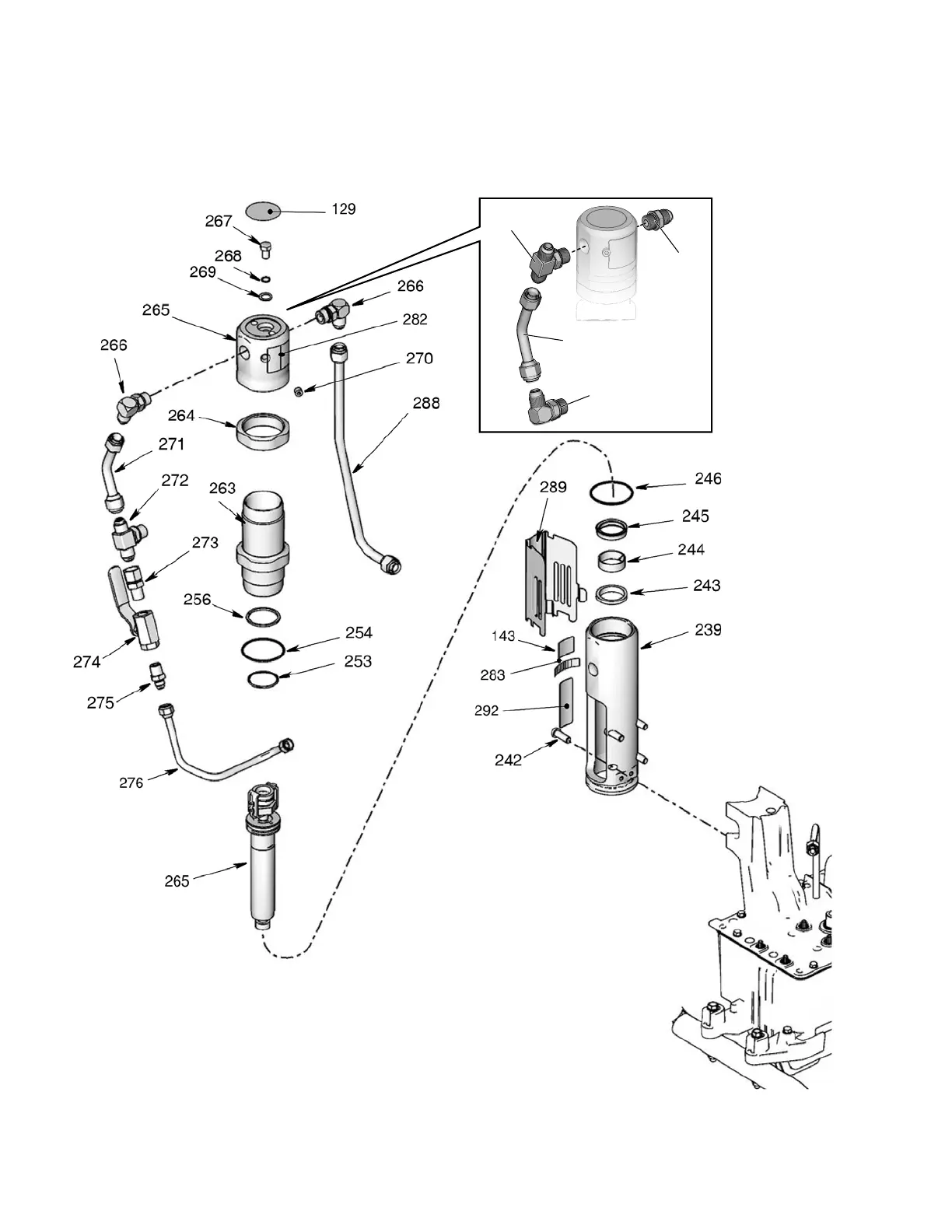
Graco GH230 - Additional Sprayer Parts Drawing; Parts Drawing

Graco GH230
36 pages
Print Icon
To Next Page IconTo Next Page
To Next Page IconTo Next Page
To Previous Page IconTo Previous Page
To Previous Page IconTo Previous Page
Loading...
Parts Drawing
30 311797S
Parts Drawing
272
293
271
266
ti24384a
Sprayers
OEM Kits

Related product manuals