EasyManua.ls Logo

Graco RTX5500 - Compressor Assembly Parts

Graco RTX5500
36 pages
Print Icon
To Next Page IconTo Next Page
To Next Page IconTo Next Page
To Previous Page IconTo Previous Page
To Previous Page IconTo Previous Page
Loading...
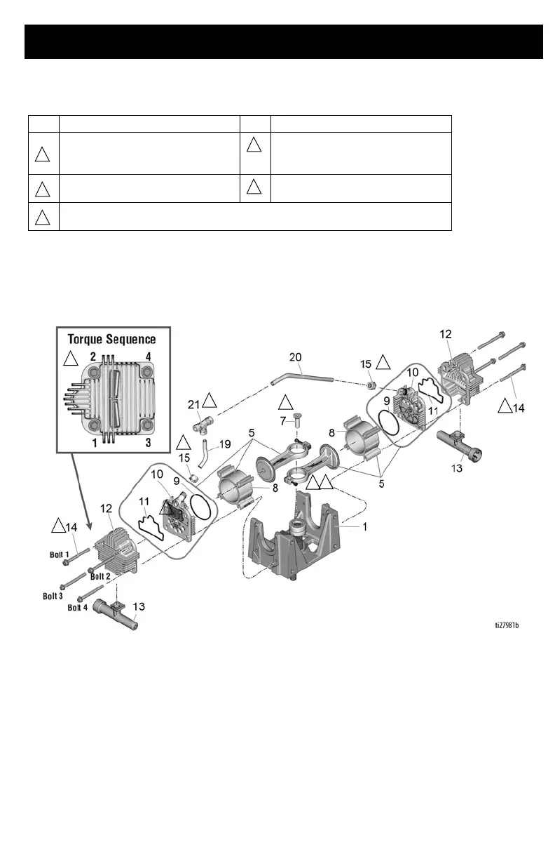
Compressor Assembly Parts
3A3265B 29
Compressor Assembly Parts
Ref. Torque Ref. Torque
Piston retaining bolt and crankshaft
bolts must torqued before head
bolts (14) are torqued.
165-185 ft-lb (18.6 - 20.9 N•m)
50-65 in-lb (5.7 - 7.3 N•m)
Hand tighten then one additional full
turn.
120-140 in-lb (13.6 - 15.8 N•m) Finger tighten cap screw in position 4 first then
torque cap screws in the sequence illustrated.
3
7
5
8
6
3
5
6
3
8
8
8
6
6
8

Other manuals for Graco RTX5500

Related product manuals