EasyManua.ls Logo

Growatt INFINITY 2000 - II) Charge Via INFINITY 2000

Growatt INFINITY 2000
16 pages
Print Icon
To Next Page IconTo Next Page
To Next Page IconTo Next Page
To Previous Page IconTo Previous Page
To Previous Page IconTo Previous Page
Loading...
- 9 -
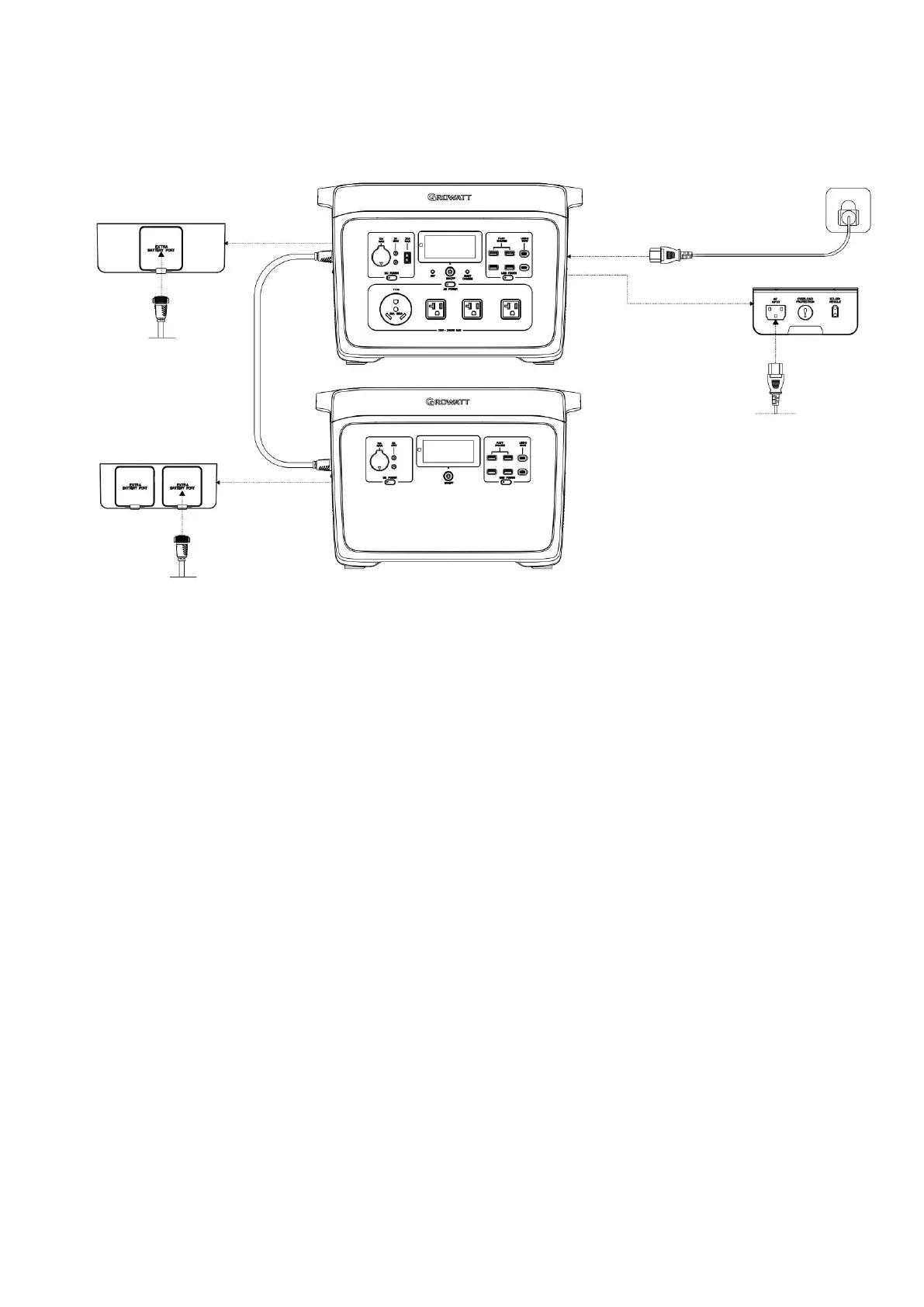
II) CHARGE VIA INFINITY 2000
In addition, Expansion Battery can also be connected to INFINITY 2000 for charging. After connecting to the master unit, then you can
connect to AC power for charging.
XT60

Related product manuals