EasyManua.ls Logo

Haas VF-2 - Page 510

Haas VF-2
564 pages
To Next Page IconTo Next Page
To Next Page IconTo Next Page
To Previous Page IconTo Previous Page
To Previous Page IconTo Previous Page
Loading...
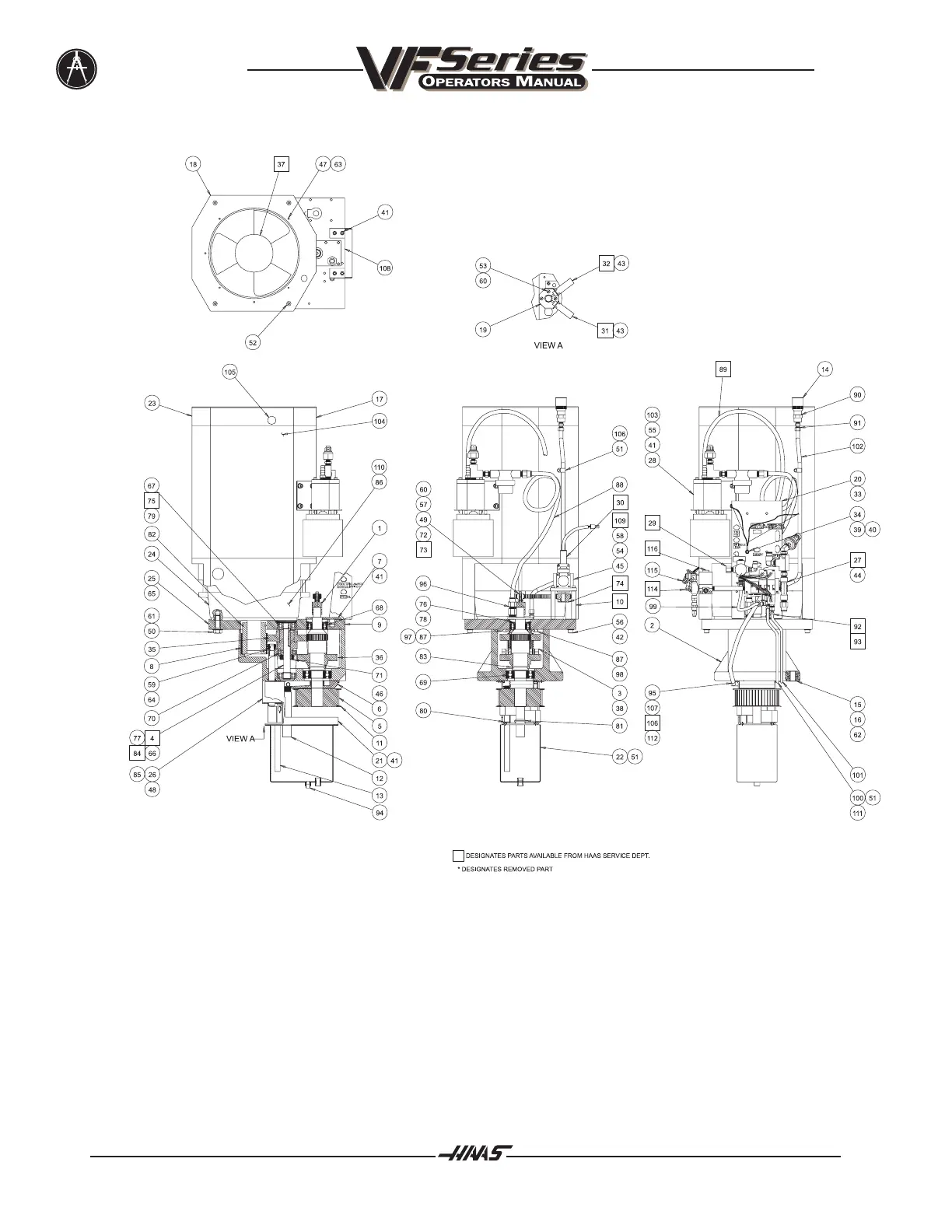
Assembly Drawings June 1999
510
96-8000
VF 1-11 Gearbox Assembly HT10K TSC

Table of Contents

Related product manuals