EasyManua.ls Logo

Haas VF-2 - Page 532

Haas VF-2
564 pages
Print Icon
To Next Page IconTo Next Page
To Next Page IconTo Next Page
To Previous Page IconTo Previous Page
To Previous Page IconTo Previous Page
Loading...
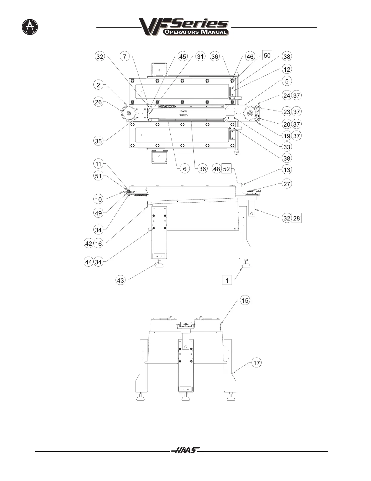
Assembly Drawings June 1999
532
96-8000
APC Assembly

Table of Contents

Related product manuals