EasyManua.ls Logo

Hafler IRIS - IRIS Block Diagram

Hafler IRIS
19 pages
Print Icon
To Next Page IconTo Next Page
To Next Page IconTo Next Page
To Previous Page IconTo Previous Page
To Previous Page IconTo Previous Page
Loading...
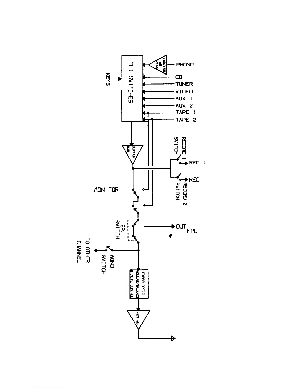
IRIS FUNCTIONAL BLOCK DIAGRAM
(ONE CHANNEL SHOWN)
MON
I
TOR
SWITCH
MON
I TOR
SWITCH
1
2
0
e
0
A
7
bREC
2
CUT
EPL
IN
MAIN
OUT
7

Related product manuals