EasyManua.ls Logo

Haier AU182AFBEA - Heating Operation

Haier AU182AFBEA
365 pages
Print Icon
To Next Page IconTo Next Page
To Next Page IconTo Next Page
To Previous Page IconTo Previous Page
To Previous Page IconTo Previous Page
Loading...
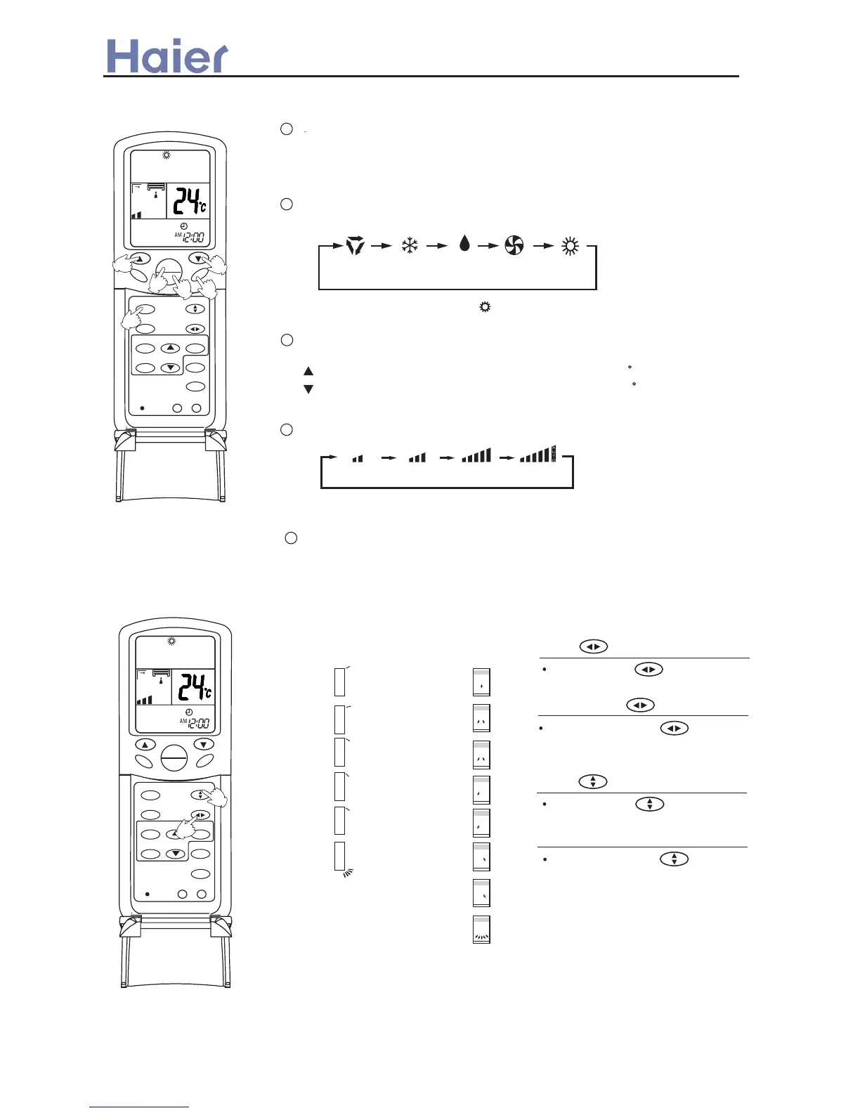
Heating operation
Press ON/OFF button
Unit starts running.
The previous status appears on the display
(except. TIMER, SLEEP mode)
Press MODE button. For each press,operation mode
changes as follows:
Select Heating operation " " appears and Heating
operation starts.
Press FAN button. For each press, fan speed changes as follows:
4
1
2
3
Select temp. button
Press TEMP button
Note: For cooling only type, this function is invalid.
Every time the button is pressed, temp. setting increases 1 C
Every time the button is pressed, temp. setting decreases 1 C
If the button is kept pressed, setting will increase or decrease quickly.
Press ON/OFF button
5
Unit stops running, and when entering this mode for the next time, it will
show the previous setting.
In heat mode,warm air will blow out after a short period of time due to cold-
draft prevention function.
Air flow adjustment
Swing louvers
(Vertical louvers)
Up and down
LOW MID HIGH AUTO
Left and right
(Horizontal louvers)
Fixed position
Press the SWING again to
fix the horizontal louvers at your
desired position.
Swing
Press SWING the horizontal
louvers move from up to down.
Fixed position
Press the SWING again to
fix the vertical louvers at your desired
position.
Swing
Press SWING the vertical
louvers move from left and right.
Position 1
Position 2
Position 3
Position 4
Position 5
Position 6
Position 7
Position 8
[COOL/DRY/FA
N/AUTO(COOL)
HAVE NOT]
(AUTO SWING)
Position 1
Position 2
Position 3
Position 4
Position 5
Position 6
AUTO COOL DRY FAN HEAT
ON
OFF
TEMP
HEALTH
FAN
MODE
SLEEP
SWING
CLOCK
TIMER
SET
LOCKLIGHT
RESET
1
2
3
HEAT
POWER/SOFT
4
5
3
ON
OFF
TEMP
HEALTH
FAN
MODE
SLEEP
SWING
CLOCK
TIMER
SET
LOCKLIGHT
RESET
HEAT
2
POWER/SOFT
1
>a__WcU[S^ <[c >a`V[e[a`Wc
-93-

Table of Contents

Related product manuals