EasyManua.ls Logo

Haier MSD318 - 7 Electrical Parts; Block Diagram

Haier MSD318
66 pages
Print Icon
To Next Page IconTo Next Page
To Next Page IconTo Next Page
To Previous Page IconTo Previous Page
To Previous Page IconTo Previous Page
Loading...
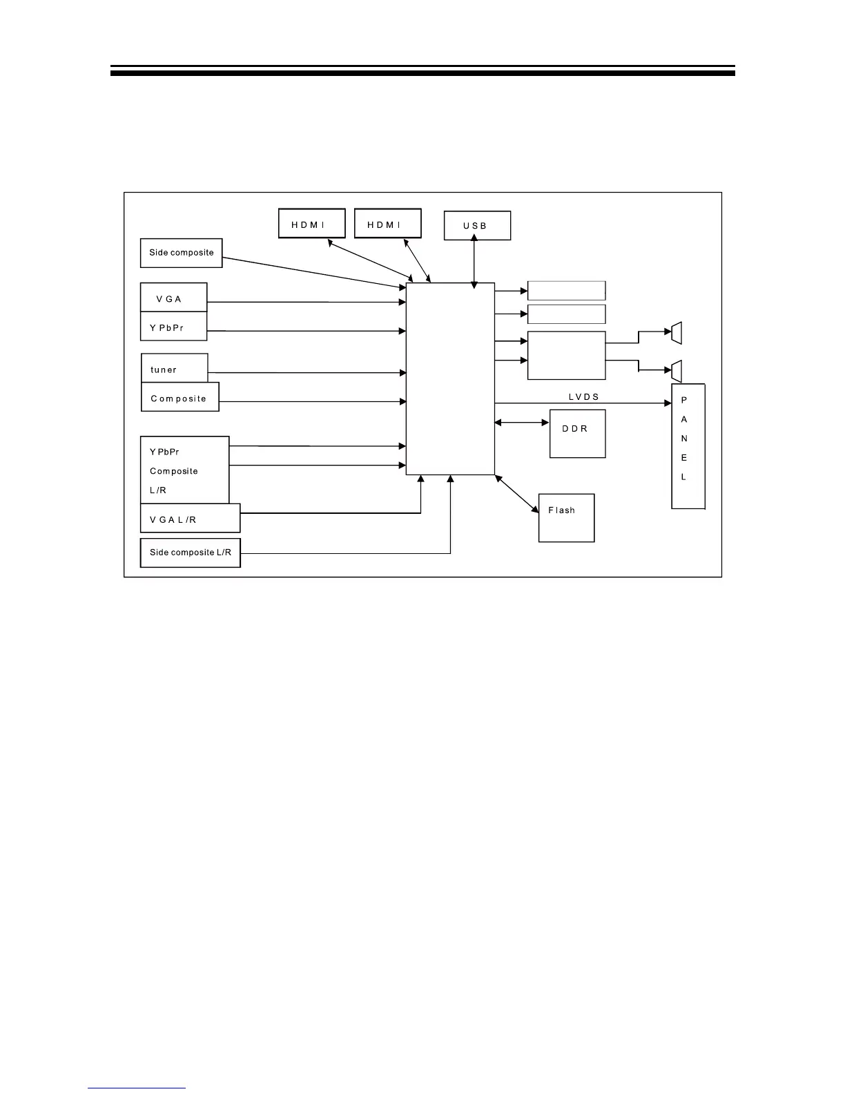
7. Electrical parts
7-1. Block diagram
- 25 -
AMP
Headphone
Coaxial
12
MSD318QT
Main IC

Related product manuals