EasyManua.ls Logo

Halton KVE-UV - Page 4

Halton KVE-UV
20 pages
Print Icon
To Next Page IconTo Next Page
To Next Page IconTo Next Page
To Previous Page IconTo Previous Page
To Previous Page IconTo Previous Page
Loading...
4
Capture Ray
TM
Operation & Maintenance & Service Manual
CJUV/012009/rev1/EN
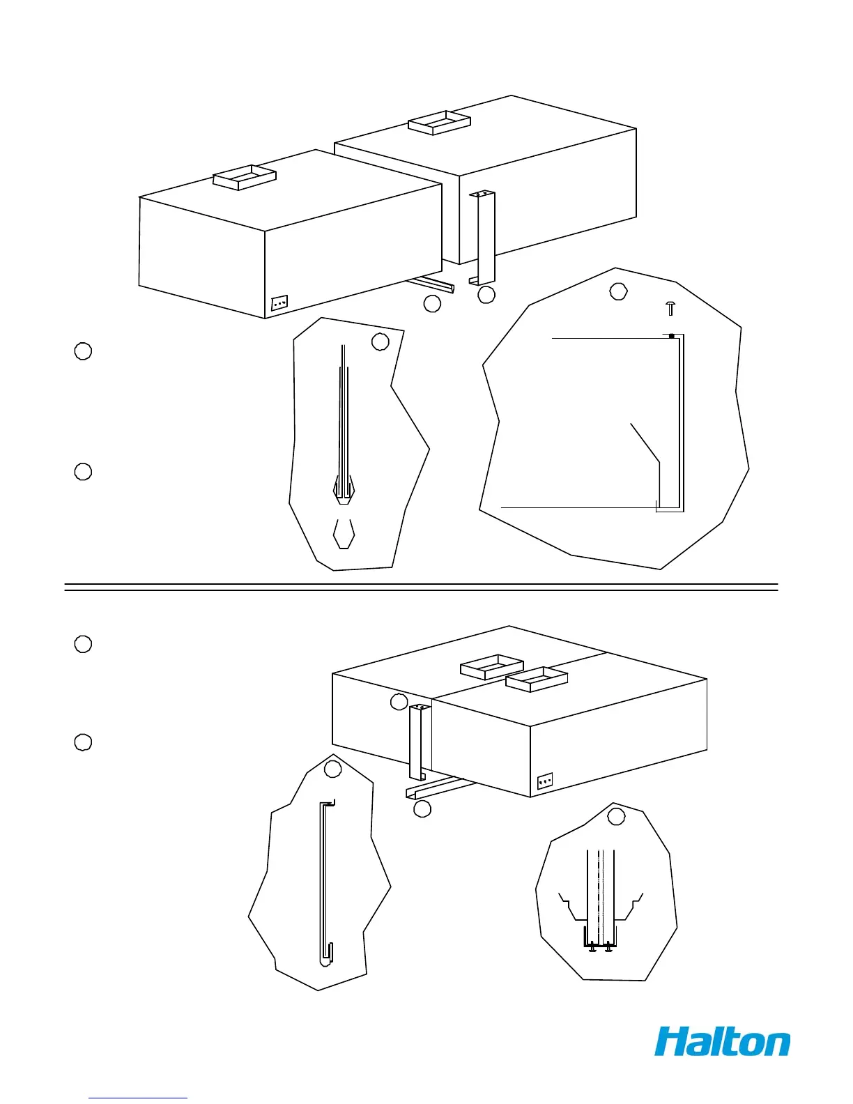
FIGURE 2
SPLICE STRIP / U-CHANNEL ASSEMBLIES
A
B
B
A
C
D
D
C
Hoods end to end
Hoods back to back
= U-Channel
Holds two end panels
together
Pry U-Channel apart
at one end and inser
t
over the end panels
Hammer channel o
n
starting from one end
and going to the othe
r
A
= Splice Strip
Insert splice strip over
bottom front edge first
then over top front of
the hoo
d
Secure to top of the hood
by welding or sheet metal
screws (supply plenum only
)
B
Secure to top of the hood
by welding
then over top sides
bottom sides firs
t
Insert splice strip over
= Splice Strip
= U-Channel
Holds two backs together
Clamp the two back
together
Slide U-Channel up over th
e
backs, and secure wit
h
sheet metal screw
s
D
C

Related product manuals