EasyManua.ls Logo

Hidea HDF6 - Page 50

Hidea HDF6
202 pages
Print Icon
To Next Page IconTo Next Page
To Next Page IconTo Next Page
To Previous Page IconTo Previous Page
To Previous Page IconTo Previous Page
Loading...
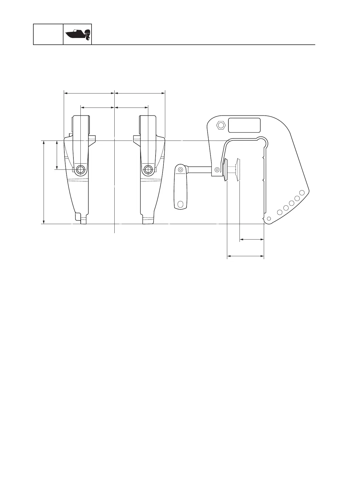
RIG
GING
Rigging information
Clamp bracket
22 (0.9)
60 (2.4)
83 (3.3)
136 (5.4)
48 (1.9)
83 (3.3)
55 (2.2)
55 (2.2)
mm (in)
50

Table of Contents

Related product manuals