EasyManua.ls Logo

HIKVISION DS-E00HGHI-B Series - Page 18

HIKVISION DS-E00HGHI-B Series
115 pages
To Next Page IconTo Next Page
To Next Page IconTo Next Page
To Previous Page IconTo Previous Page
To Previous Page IconTo Previous Page
Loading...
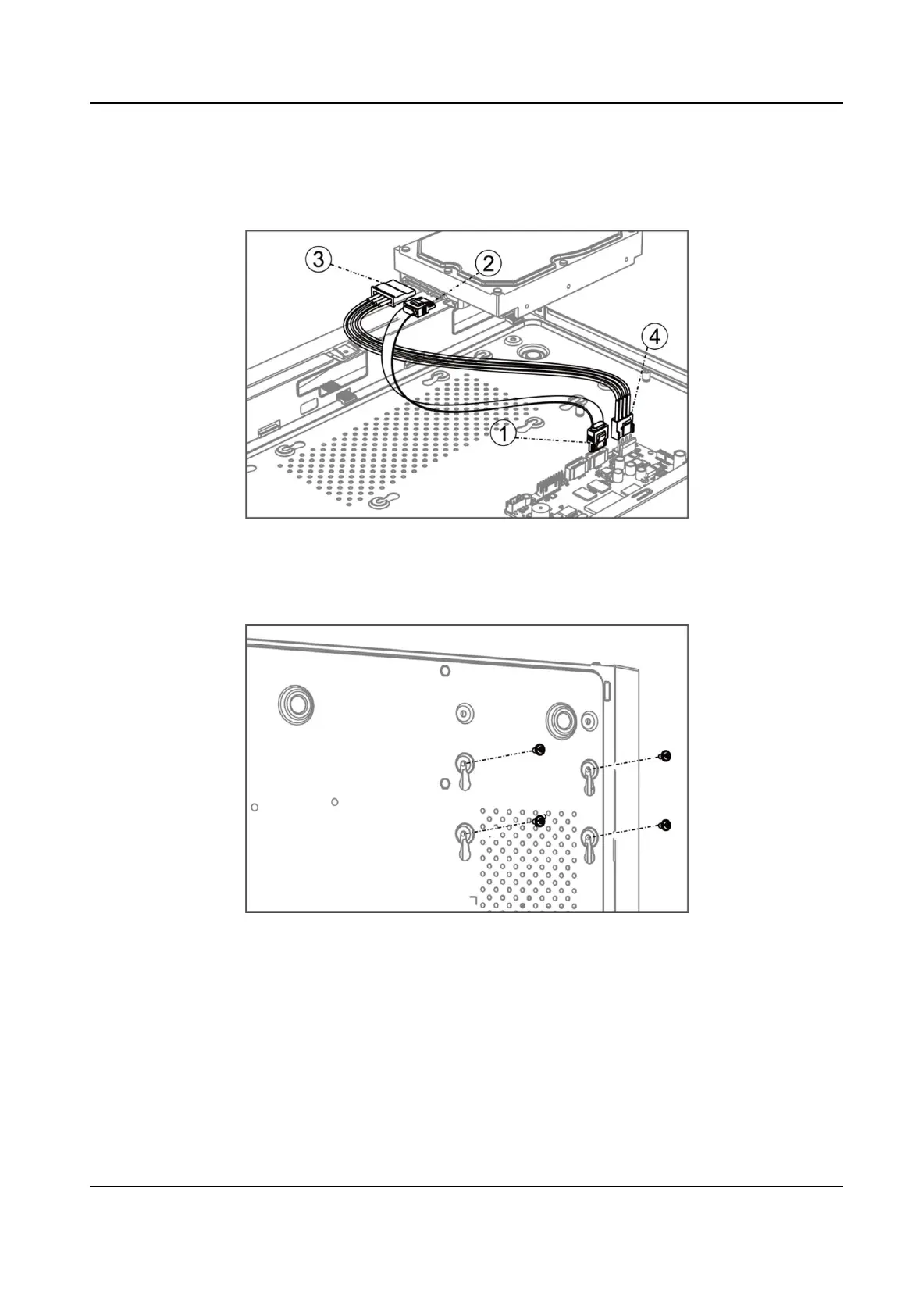
2) Connect the other end of data cable to HDD.
3) Connect one end of power cable to HDD.
4) Connect the other end of power cable to the device motherboard.
Figure 1-9 Connect Cables
3.
Set the device up, match HDD screw threads with the reserved holes on the device boom, and
x HDD with screws.
Figure 1-10 Fix HDD to Device Boom
4.
Oponal: Repeat the steps above to install other HDDs.
5.
Reinstall the device cover and fasten screws.
Digital Video Recorder User Manual
xvii

Table of Contents

Related product manuals