EasyManua.ls Logo

Hill-Rom MC700 - Install Retainers and Brake Pedals; Install Foot End Grub Screw and Cover

Hill-Rom MC700
10 pages
Print Icon
To Next Page IconTo Next Page
To Next Page IconTo Next Page
To Previous Page IconTo Previous Page
To Previous Page IconTo Previous Page
Loading...
June 23, 2014 187155 REV 1 Page 9 of 10
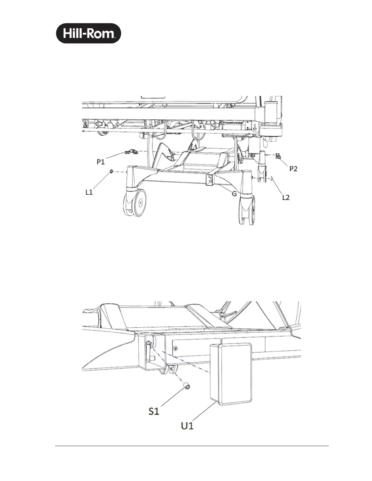
15. Install helmut caps (retainers) (L1, L2) on the hex rod head end (see figure 16).
16. Install the brake pedals (P1, P2) (torque setting at 15 ± 0.5 N-m).
Figure 16. Retainers and Pedal Assembly Installation
17. Test the brakes (brake -neutral - steer).
18. Set the brakes to Neutral.
19. Install a grub screw (S1) (torque setting at 6.5 ± 0.5 N-m) on the foot end transmission
lever, and install the cover (U1) (see figure 17).
Figure 17. Foot End Grub Screw and Cover Installation

Related product manuals