EasyManua.ls Logo

Hisense 32A5100F - Page 19

Hisense 32A5100F
23 pages
Print Icon
To Next Page IconTo Next Page
To Next Page IconTo Next Page
To Previous Page IconTo Previous Page
To Previous Page IconTo Previous Page
Loading...
12
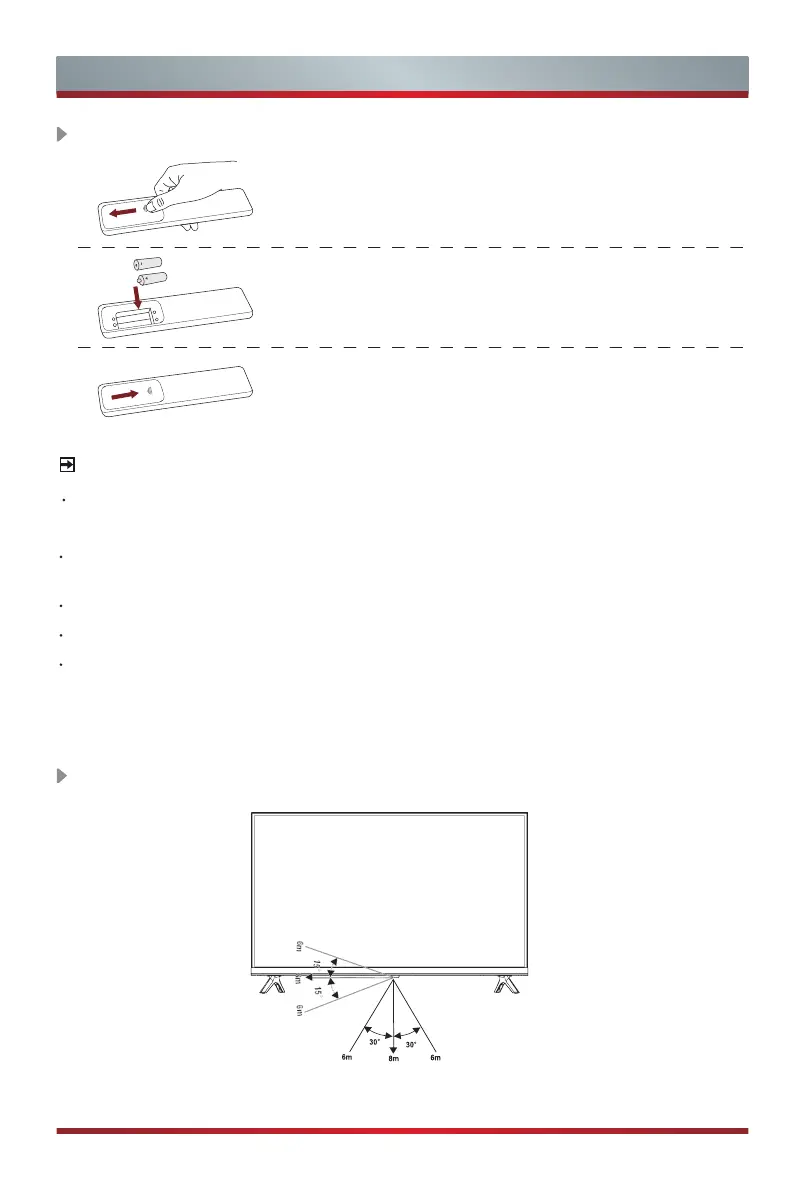
1. Slide the back cover to open the battery compartment
of the remote control.
2. Insert two AAA size batteries. Make sure to match
the (+) and ( - ) ends of the batteries with the (+)
and ( - ) ends indicated in the battery compartment.
3. Close the battery compartment with the cover.
Installing Batteries in the Remote Control
Remote Control
Remote Control Operation Range
NOTES
Product image is only for reference, actual product may vary in appearance.
Handling the Batteries
Incorrect use of batteries may cause corrosion or battery leakage, which could
cause fire, personal injury or damage to property.
Only use the battery type indicated in this manual
Do not mix old and new batteries or different types of batteries .
Do not dispose of used batteries as domestic waste. Dispose of them in
accordance with local regulations.

Related product manuals