EasyManua.ls Logo

Hitachi HIDIC MICRO-EH - Page 44

Hitachi HIDIC MICRO-EH
319 pages
Print Icon
To Next Page IconTo Next Page
To Next Page IconTo Next Page
To Previous Page IconTo Previous Page
To Previous Page IconTo Previous Page
Loading...
Chapter 4 Product lineup and wiring
4-12
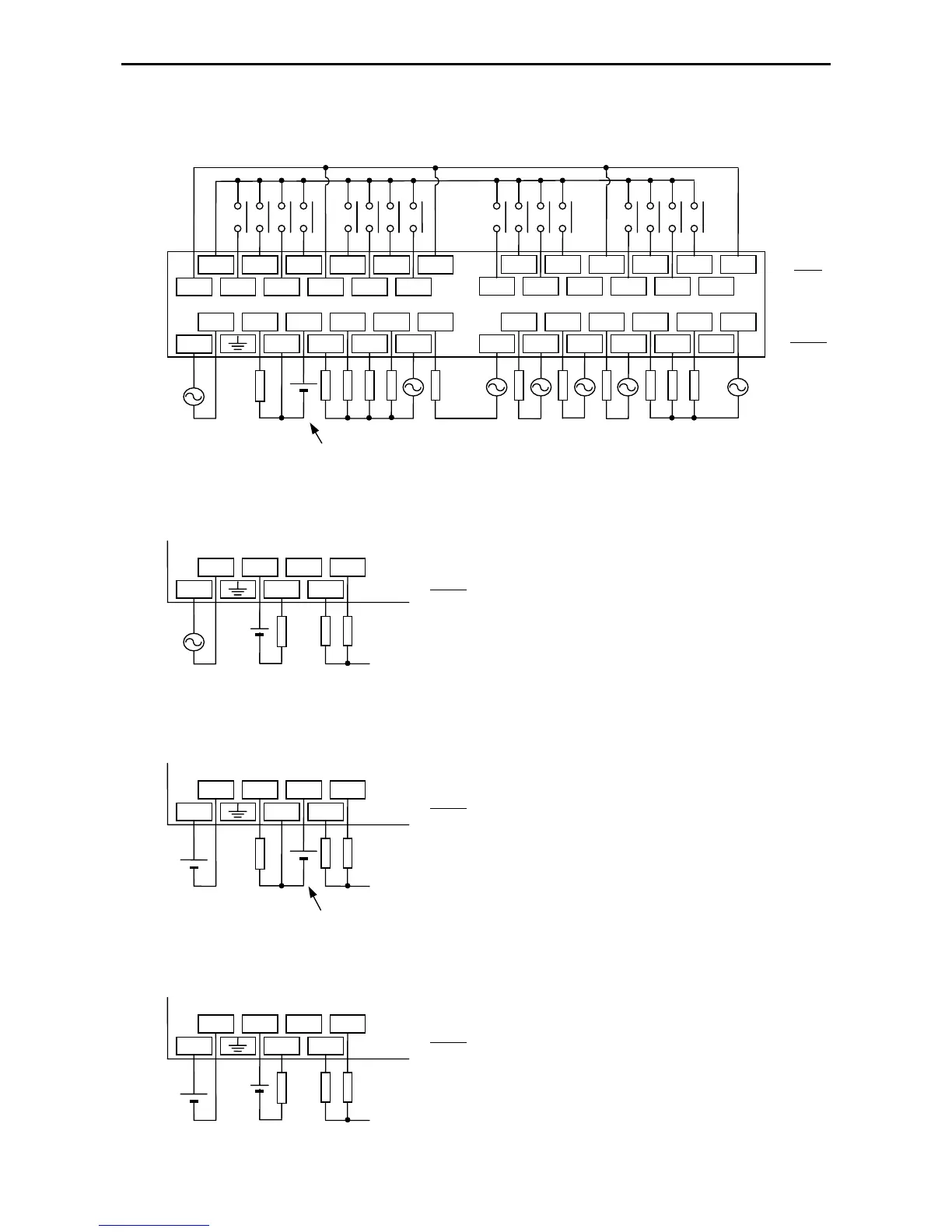
28-point type
EH-A28DRP
* Since the DC input is bidirectional, it is possible to reverse the polarity of the power supply.
EH-A28DRT
(The input wiring is the same as EH-A28DRP.)
EH-D28DRP
(The input wiring is the same as EH-A28DRP.)
EH-D28DRT
(The input wiring is the same as EH-A28DRP.)
TR output power supply
16-30V DC
Load power supply
24V DC, 100-240V AC
Power supply
100-240V AC
Power supply
for input 24V DC
TR output power supply
16-30V DC
Power supply
24V DC
Power supply
100-240V AC
0
24+
0V 2
1
C0
3
5
4
7
6 C1
AC 0
1
V0
3
2
C1
4 5
C3
6
C2 C4
7
C5
8
10 C6
11 C6
10
9
8 C2
11
12
C2
14
13
C3
15 C3
9
AC
C0
Input
Output
AC
AC C0
0
1
NC 2
Output
0V
24V C0
0
1
V0 2
0V
24V C0
0
1
NC 2
Output
Power supply
24V DC
Output

Table of Contents

Related product manuals