EasyManua.ls Logo

Hitachi HIDIC MICRO-EH - Page 45

Hitachi HIDIC MICRO-EH
319 pages
Print Icon
To Next Page IconTo Next Page
To Next Page IconTo Next Page
To Previous Page IconTo Previous Page
To Previous Page IconTo Previous Page
Loading...
Chapter 4 Product lineup and wiring
4-13
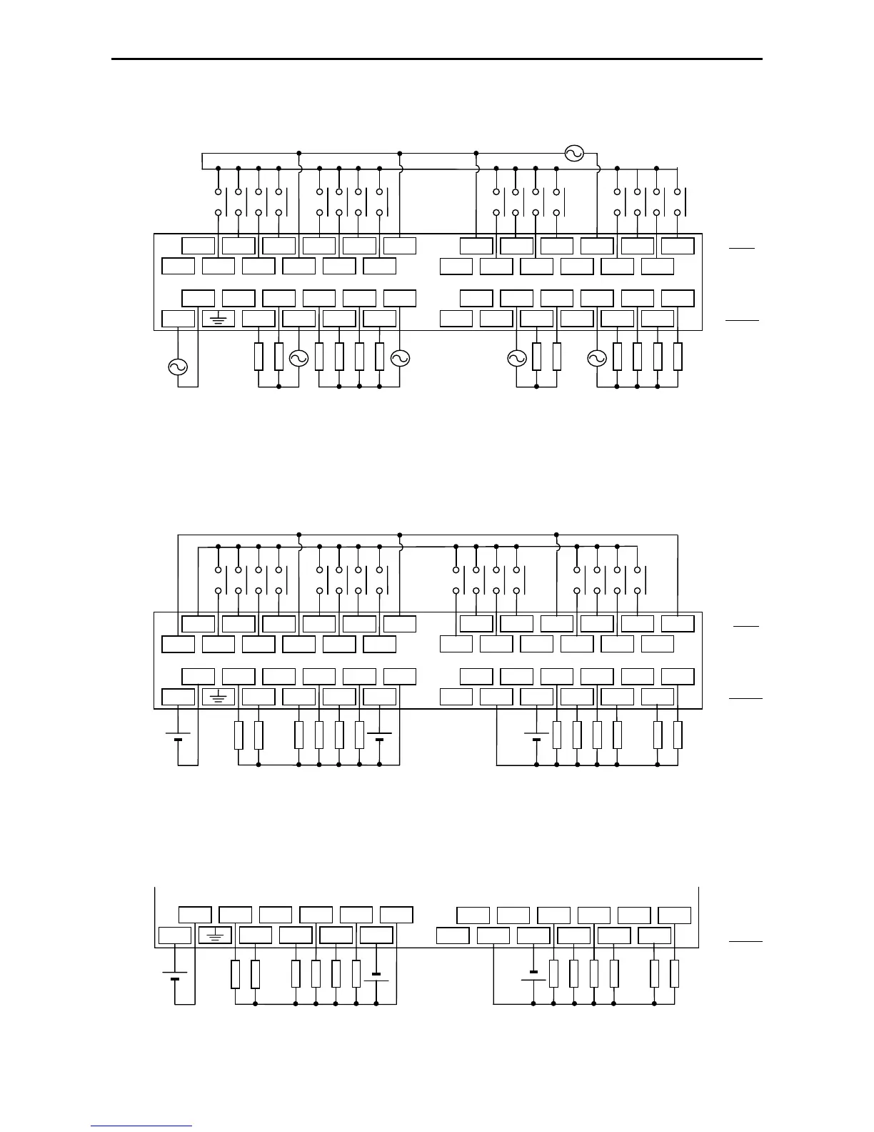
EH-A28AS
EH-D28DTP
* Since the DC input is bidirectional, it is possible to reverse the polarity of the power supply.
EH-D28DT
(The input wiring is the same as EH-D28DTP.)
Load power supply
100-240V AC
Power supply for input
100-115V AC
Power supply
100-240V AC
Power supply for
input, 24V DC
Load power supply
12/24V DC
Power supply
24V DC
Power supply
24V DC
0
NC
NC 2
1
C0
3
5
4
7
6 C1
AC NC
C0
1
3
2
5
4 C1
C2
NC
NC 6
C2
C3
7
8 10
9 11
8
C2
C2 10
9
C3
11
12
C3 13
C3
AC
0
14
15
Input
Output
0
24+
0V 2
1
C0
3
5
4
7
6 C1
0V 0
2
NC
4
3
V0
5 C0
C1
C1
NC V1
V1
7
6
9 10
NC 11
10
9
8 C2
11
12
C2
14
13
C3
15 C3
8
24V
1
Input
Output
0V 0
2
NC
4
3
V0
5 C0
24V
1
C1
C1
NC V1
V1
7
6
9 10
NC 118
Output
Load power supply
12/24V DC

Table of Contents

Related product manuals