EasyManua.ls Logo

Holman WS5056C - Lcd Display

Holman WS5056C
12 pages
Print Icon
To Next Page IconTo Next Page
To Next Page IconTo Next Page
To Previous Page IconTo Previous Page
To Previous Page IconTo Previous Page
Loading...
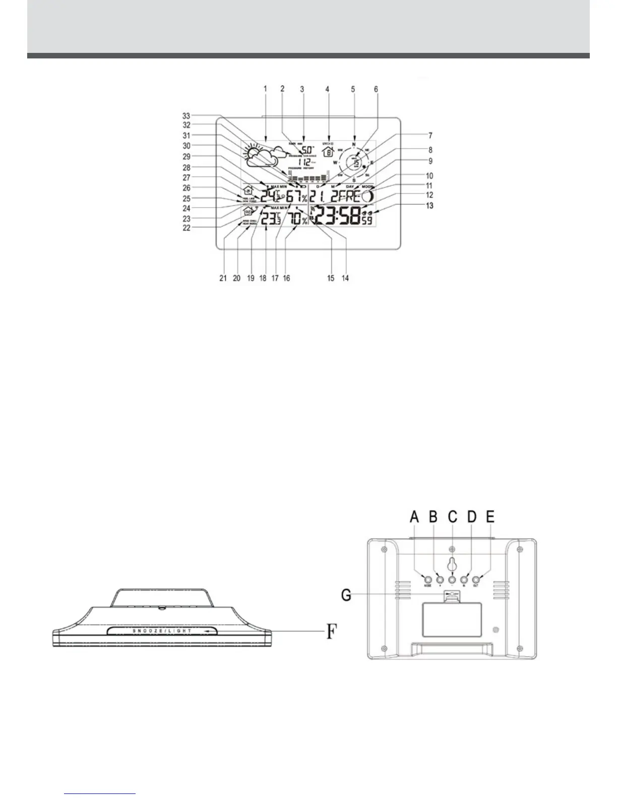
LCDDISPLAY
LCD overview
1. Weather
2. SunshineforLUX
3. Rain
4. UVindex
5. Wind direction
6. Wind speed
7. Date
8. Month
9. Dayofweek
10. Moonphase
11. Radiocontrolled
symbol(thisisnot
applicableinAustralia)
12. Time
13. Alarm
14. Outdoorhumidity
trend
15. Summer/Wintertime
symbol(notapplicable
inAustralia)
16. Outdoorhumidity
17. Indoorhumidity
18. Outdoortemperature
19. Outdoortemperature
trend
20. Heatindex
21. Windchill
22. RFsymbol
23. Max/Minforoutdoor
temperature and
humidity
24. Livingface
25. DewPoint
26. FeelLike
27. Indoortemperature
28. Max/Minforindoor
temperature and
humidity
29. Indoortemperature
trend
30. Indoorhumiditytrend
31. Indoorlowbattery
32. Barof12hourair
pressure history
33. Airpressurereading.
A=MODEB=+C=-D=INE=OUTF=SNOOZE/LIGHTG=reset

Related product manuals