EasyManua.ls Logo

Honeywell Lynx Plus - Lynx Plus Summary of Connections Diagram

Honeywell Lynx Plus
24 pages
Print Icon
To Next Page IconTo Next Page
To Next Page IconTo Next Page
To Previous Page IconTo Previous Page
To Previous Page IconTo Previous Page
Loading...
-23-
85dB
SIREN
DISABLE
SWITCH
UL INSTALLATIONS
THE MINIMUM WIRE
SIZE USED FOR
TELEPHONE
INSTALLATIONS
MUST BE #26 GAGE
WARNING
TO PREVENT RISK OF
SHOCK, DISCONNECT
TELEPHONE LINE
AT TELECOM JACK
BEFORE SERVICING
THIS UNIT
THIS DEVICE COMPLIES WITH PART 15 OF FCC RULES.
OPERATION IS SUBJECT TO THE FOLLOWING TWO
CONDITIONS: (1) THIS DEVICE MAY NOT CAUSE HARMFUL
INTERFERENCE, AND (2) THIS DEVICE MUST ACCEPT ANY
INTERFERENCE RECEIVED, INCLUDING INTERFERENCE
THAT MAY CAUSE UNDESIRED OPERATION.
THIS EQUIPMENT SHOULD BE INSTALLED IN ACCORDANCE
WITH THE NATIONAL FIRE PROTECTION ASSOCIATION
STANDARDS ANSI/NFPA 70 NATONAL ELECTRIC CODE AND
NFPA 72 NATIONAL FIRE ALARM CODE, CHAPTER 2
(NATIONAL FIRE PROTECTION ASSOC., BATTERY MARCH
PARK, QUINCY, MA 02169). PRINTED INFORMATION
DESCRIBING PROPER INSTALLATION, EVACUATION
PLANNING AND REPAIR SERVICE IS TO BE PROVIDED WITH
THIS EQUIPMENT.
LYNX PLUS SERIES ALSO COMPLIES WITH THE FOLLOWING:
CANADIAN STANDARDS ASSOCIATION (CSA) C22.1,
CANADIAN ELECTRICAL CODE, PART 1, SAFETY STANDARD
FOR ELECTRICAL INSTALLATIONS AND CAN/ULC-S540
INSTALLATION OF RESIDENTIAL FIRE WARNING SYSTEMS.
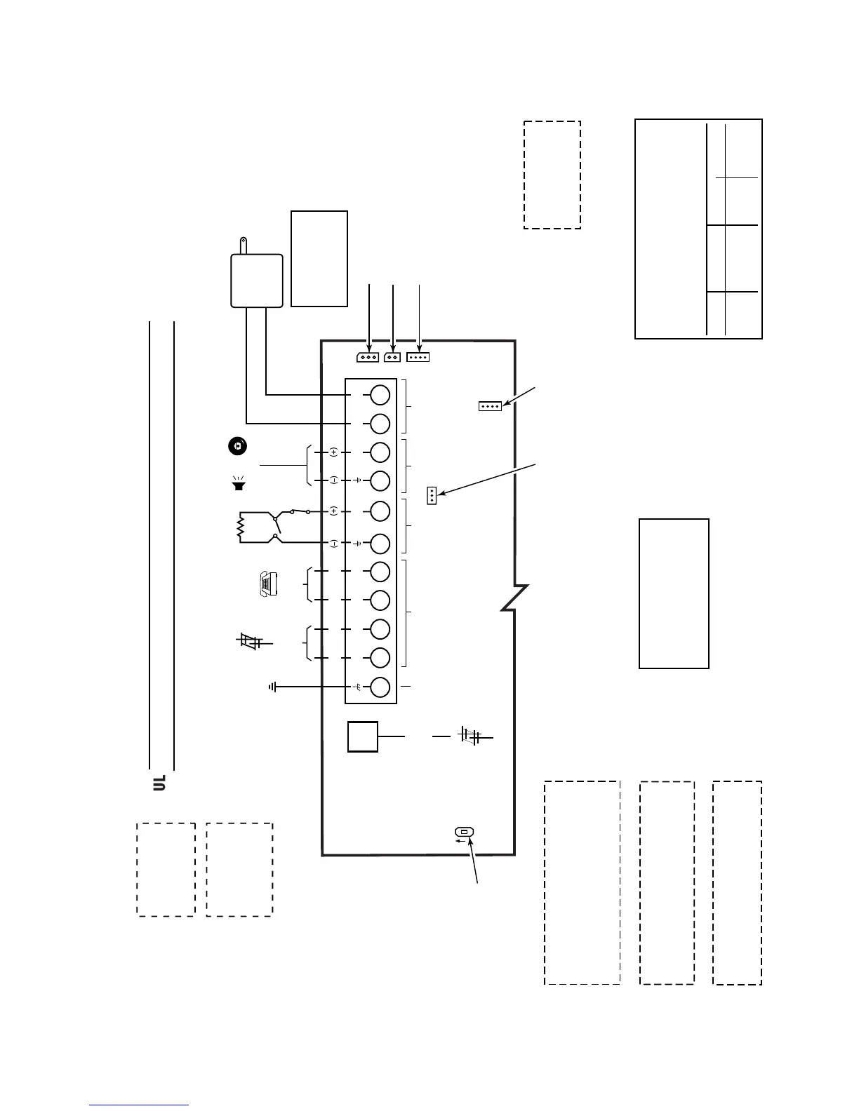
LYNX PLUS SERIES SUMMARY OF CONNECTIONS
THE LYNX PLUS SERIES CONTROLS ARE
COMPATIBLE WITH THE FOLLOWING
INTEGRAL RECHARGEABLE BATTERY PACKS:
REPLACE EVERY FOUR YEARS
P/N LYNXRCHKIT-SC
P/N LYNXRCHKIT-HC
P/N LYNXRCHKIT-SHA
CIRCUIT
(ZONE)
CONTROL UNIT
DELAY-SEC
SMOKE DETECTOR
MODEL DELAY-SEC
THIS UNIT MAY BE PROGRAMMED TO INCLUDE AN ALARM
VERIFICATION FEATURE THAT WILL RESULT IN A DELAY OF THE
SYSTEM ALARM SIGNAL FROM THE INDICATED FIRE CIRCUITS.
THE TOTAL DELAY (CONTROL UNIT PLUS SMOKE DETECTORS)
SHALL NOT EXCEED 60 SECONDS. NO OTHER INITIATING
DEVICES SHALL BE CONNECTED TO THESE CIRCUITS UNLESS
APPROVED BY THE LOCAL AUTHORITY HAVING JURISDICTION.
WARNING
5806 10 seconds30 seconds
02 - 25
ZT16
1000-300-SOC-V1
FCC ID: CFS8DLLYNXPLUS
(LYNX PLUS SERIES)
COMPLIES WITH FCC RULES,
PART 68 FCC REGISTRATION
No. 5GBUSA-25623-AL-E
RINGER EQUIVALENCE: 0.6B
NOTE
USE ONLY THE
K10145WH/K10145X10
OR K10145CN CLASS 2
TRANSFORMERS
PROVIDED
EXTERNAL SOUNDERS AND POWERLINE CARRIER DEVICES HAVE NOT BEEN EVALUATED BY UL.
WEEKLY TESTING IS
REQUIRED TO ENSURE
PROPER OPERATION
OF THIS SYSTEM
POWER SHUTDOWN NOTE: AT 6.0VDC THE SYSTEM WILL NOT OPERATE.
PREMISES
TELEPHONE
INCOMING
TELEPHONE
LINE
PIEZO
6-14VDC
120mA max.
6-14VDC
30mA max.
BELL
HARD
WIRED
ZONE
ALL OUTPUT CIRCUITS ARE POWER LIMITED.
1
2
3
4
86
5
11
7
10
PHONE
ZONE
SOUNDERS
AC
EARTH
GROUND
EARTH
GROUND
9
SUPER HIGH-CAPACITY
BATTERY CONNECTOR
GSML/GSMVL
COMMUNICATIONS PORT
STANDARD/HIGH-CAPACITY
BATTERY CONNECTOR
TO 24HR 110VAC
UNSWITCHED
OUTLET
K10145WH/K10145X10
OR K10145CN PLUG-IN
TRANSFORMER
9VAC, 25VA
RING
TIP
RING
TIP
INCOMING
PHONE
LINE
8
POS
JACK
POWERLINE
CARRIER
DEVICE
CONNECTOR
GSMVL
AUDIO
CABLE
CONNECTOR
ON
AC
AC
SOUND
OUT
HWZ
T
R
T
R
2k
OHMS
EOLR

Other manuals for Honeywell Lynx Plus

Related product manuals