EasyManua.ls Logo

Honeywell Optima

Honeywell Optima
56 pages
To Next Page IconTo Next Page
To Next Page IconTo Next Page
To Previous Page IconTo Previous Page
To Previous Page IconTo Previous Page
Loading...
Accenta/Optima Engineers Manual
25
6 = Zone Names
This option allows each of the eight zones to be given a name from the library (Appendix 2).
LCD Keypad:
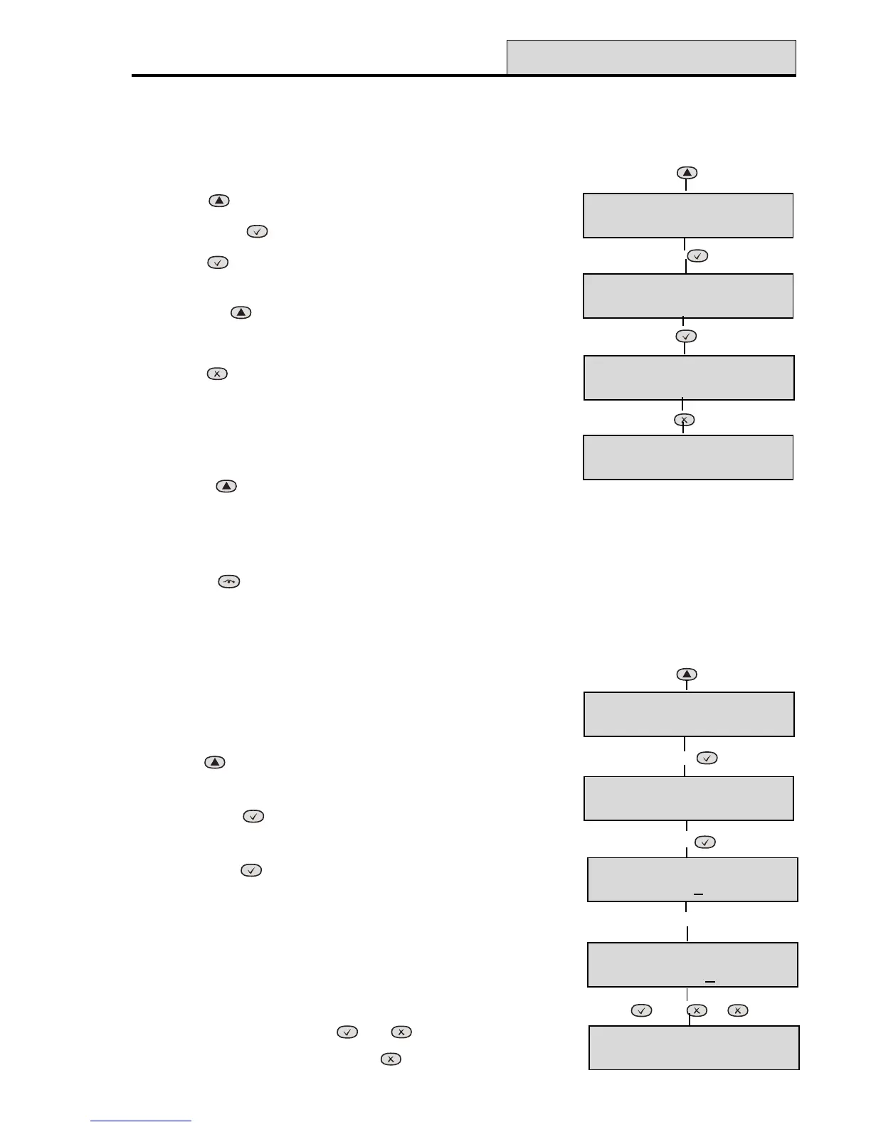
Press or to go to menu 6>Zone Names.
Press [6] or to go to zone 1 descriptor.
Press to scroll through the library to the desired
descriptor.
Press the to go to the next zone.
To assign additional zone descriptors repeat the above procedure.
Press to save programming and leave the function.
LED Keypad:
The LED keypad cannot program zone names.
NOTE: The is not available on the LED keypad.
Timers
LCD keypad:
To change the Bell Time from 15 to 20 minutes:
Press for menu 7>Timers.
Press [7] or for option 71 Bell Time.
Press [1] or . The Bell Time in minutes is displayed.
The cursor is under the first digit. Select [2].
The cursor moves to the second digit. Select [0].
To accept the change press then
OR to cancel the change press the key twice.
7 = Timers
This option allows the Bell Time, Bell Delay and Rearm Count to be changed.
NOTE: The key takes you back to the first digit.
71 = Bell Time
This is the duration for which the external bell output is active.
The range is 01-99 minutes. The default is 15 minutes.
7>Timers
Bell Time
Minutes? 15
71>Bell Time
[7] or
7>Timers
then or
Bell Time
Minutes? 20
[2] and [0]
1: New Descriptor
1: Descriptor
[6] or
6>Zone Names
6>Zone Names
[1] or

Other manuals for Honeywell Optima

Related product manuals