EasyManua.ls Logo

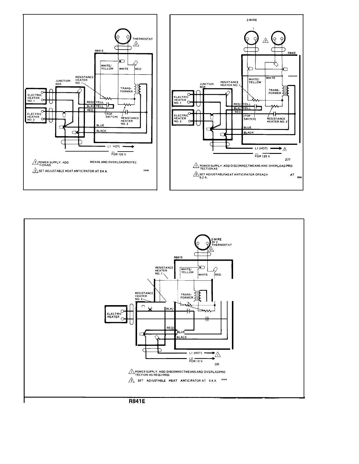
Honeywell R841C-E - Fig. 10-Typical Wiring Hookup for R841 E with One Thermostat Operating Two Loads Simultaneously; Fig. 11-Typical Wiring Hookup for R841 E with Two Thermostats, each with Its Own Load

Honeywell R841C-E
7 pages
Print Icon
To Next Page IconTo Next Page
To Next Page IconTo Next Page
To Previous Page IconTo Previous Page
To Previous Page IconTo Previous Page
Loading...
Q
2-WIRE
24 V
THERM05TA7
A
~6R120V
(L3 FOR 208, 240, OR 277 V]
~
PowERs”PPLY.ADcl
DISCONNECT
MEAN5ANDOVERLOACI
,,0,.,
TION
AS
REQUIRED
A
5ETAD,”sTABLEHEAT
ANT!clPAToRATo.4A.
,,..
2.WIRE
2-WIRE
24 V
24 V
THERMOSTAT THERMOSTAT
NO
1
NO. 2
@@
I
!iJ-L$L
RED
%R120V
-
(L3 FOR 208,240, OR
2?7
V)
~
POWER SUPPLY.
ADD
DISCONNECT MEANS AND
OVERLOAD
PRo.
TECTION
AS
REQUIRED.
~
:~:DJLISTABLE
HEAT AP4TICIPATOP.OF EACH THERMOSTAT
A,
,,s,
FIG. IO–TYPICAL WIRING HOOKUP FOR R841E
FIG. II–TYPICAL WIRING HOOKUP FOR R841E
WITH ONE THERMOSTAT OPERATING
WITH TWO THERMOSTATS, EACH WITH
TWO LOADS SIMULTANEOUSLY.
ITS OWN LOAD.
A
2.WIRE
24 V
THERMOSTAT
A
R841
E
::rm
JUNCTION HEATER
00x
b
nl
n
1
M
ELECTRIC
HEATER
9
BLK/ YELL
11
II
Q
RED
11
II
REDI YELLOW
BLUE
~
:(-n~
FOR12V
(L3 FOR 208, 240,
OR
277 V)
~
p##&wLYPLYyxwEcT
MEANS AND
OV,RLAD
,.0
~
SET
AOJLISTABLE HEAT ANT,CIPATIJRAT
04A
‘s”
I. 12–TYPICAL WIRING HOOKUP FOR
R841E
WITH ONE THERMOSTAT CONNECTED TO ONE LOAD SO
THAT BOTH SIDES OF THE SINGLE PHASE LINE ARE SWITCHED.
6

Related product manuals