EasyManua.ls Logo

Hotpoint FF187EA - Page 10

Hotpoint FF187EA
36 pages
Print Icon
To Next Page IconTo Next Page
To Next Page IconTo Next Page
To Previous Page IconTo Previous Page
To Previous Page IconTo Previous Page
Loading...
10 of 36
Service Manual UK
Indesit
Company
English
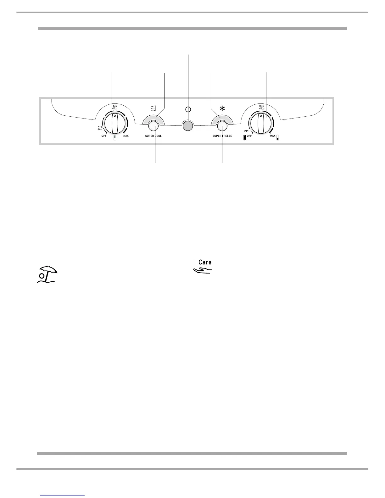
DESCRIPTION OF APPLIANCE:
NOTE: - The indicator lights are also used to indicate an unusual temperature increase in the
freezer compartment.
See Alarm Conditions on Page 12.
The SUPER COOL (quick cool) function lowers
the temperature of the refrigerator compartment
rapidly. When the button is pressed it
illuminates the SUPER COOL indicator light.
The REFRIGERATOR OPERATION knob
allows you to adjust the refrigerator
compartment from MIN (warmer) to MAX
(colder).
The HOLIDAY function will minimise
energy usage when away on holiday.
It is not necessary to switch the
appliance off. It allows the appliance to maintain
the temperature of the refrigerator compartment
at approximately 15°C (which can be used to
conserve make-up and beauty products).
The FREEZER OPERATION knob MUST be
set to MIN in order to preserve the frozen food.
An acoustic signal sounds when this function is
enabled or disabled.
The SUPER FREEZE (fast freeze) function
allows the freezing of fresh food. When the
button is pressed it illuminates the SUPER
FREEZE indicator light.
The FREEZER OPERATION knob allows you
to adjust the freezer compartment from MIN
(warmer) to MAX (colder).
Selecting this position allows the
relevant compartment to achieve the
optimal temperature setting for energy
saving levels.
FREEZER OPERATION knob
OFF ~ Selecting this position switches the
appliance OFF including the refrigerator
compartment.
REFRIGERATOR OPERATION knob
OFF ~ Selecting this position switches the
refrigerator compartment OFF only.
SUPER FREEZE
Button
REFRIGERATOR
OPERATION
Knob
SUPER COOL
Button
SUPER COOL
Indicator light
SUPER FREEZE
Indicator light
POWER
Indicator light
FREEZER
OPERATION
Knob

Related product manuals