EasyManua.ls Logo

HP 212A - Page 43

HP 212A
60 pages
Print Icon
To Next Page IconTo Next Page
To Next Page IconTo Next Page
To Previous Page IconTo Previous Page
To Previous Page IconTo Previous Page
Loading...
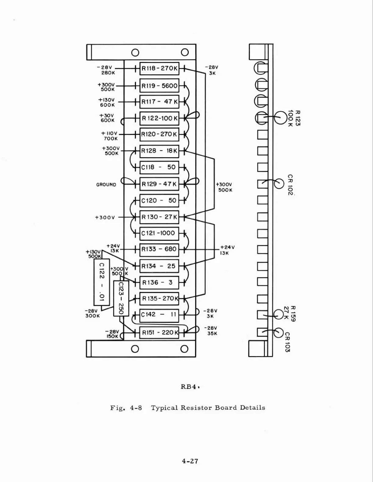
RB4
1
Fig,
4-8
Typical
Resistor
Board
Details

Related product manuals