EasyManua.ls Logo

HP ProLiant DL160 Generation 5

HP ProLiant DL160 Generation 5
99 pages
To Next Page IconTo Next Page
To Next Page IconTo Next Page
To Previous Page IconTo Previous Page
To Previous Page IconTo Previous Page
Loading...
Contents 74
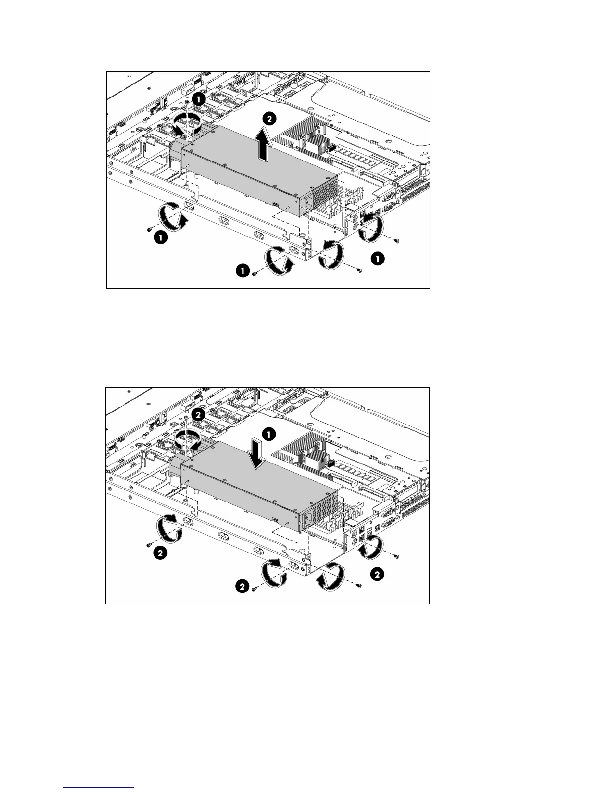
Figure 63 Removing the non-hot-plug power supply
To replace the power supply:
1. Align the power supply to the right location next to the motherboard.
2. Align the screw holes on the power supply with the screw holes on the chassis (one on the top of
the power supply, others on the sides).
3. Fasten the power supply to the chassis using the screws that just been loosened.
Figure 64 Installing the non-hot-plug power supply

Related product manuals