EasyManua.ls Logo

Huawei UPS5000-E-200K-FM - Connecting Communications Cables; Installing a Parallel System; Installing the Upss

Huawei UPS5000-E-200K-FM
300 pages
Print Icon
To Next Page IconTo Next Page
To Next Page IconTo Next Page
To Previous Page IconTo Previous Page
To Previous Page IconTo Previous Page
Loading...
UPS5000-E-(50 kVA-300 kVA)
User Manual (50 kVA Power Modules)
3 Installation
Huawei Proprietary and Confidential
Copyright © Huawei Technologies Co., Ltd.
114
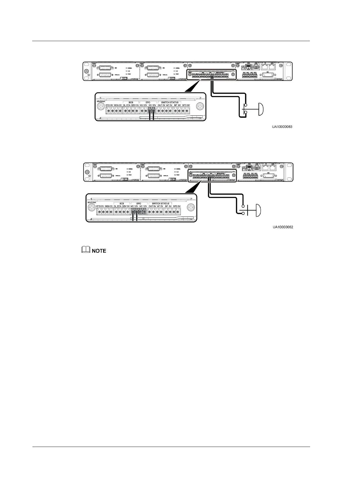
Figure 3-78 Cable connection for an NC EPO switch
Figure 3-79 Cable connection for an NO EPO switch
When the EPO switch is in the NC state, remove the jumper between EPO_NC and EPO_12V
before connection. When the EPO switch is turned off, EPO is triggered.
When the EPO switch is in the NO state, ensure that the jumper is connected between EPO_NC and
EPO_12V. When the EPO switch is turned on, EPO is triggered.
3.2.10 Connecting Communications Cables
Procedure
Step 1 Connect the external network management device to the RS485 port.
Step 2 Connect the network port on a PC to the FE port.
----End
3.3 Installing a Parallel System
3.3.1 Installing the UPSs
Context

Table of Contents

Other manuals for Huawei UPS5000-E-200K-FM

Related product manuals