EasyManua.ls Logo

Huawei UPS5000-E-200K-FM - Bypass Mode

Huawei UPS5000-E-200K-FM
300 pages
Print Icon
To Next Page IconTo Next Page
To Next Page IconTo Next Page
To Previous Page IconTo Previous Page
To Previous Page IconTo Previous Page
Loading...
UPS5000-E-(50 kVA-300 kVA)
User Manual (50 kVA Power Modules)
2 Overview
Huawei Proprietary and Confidential
Copyright © Huawei Technologies Co., Ltd.
15
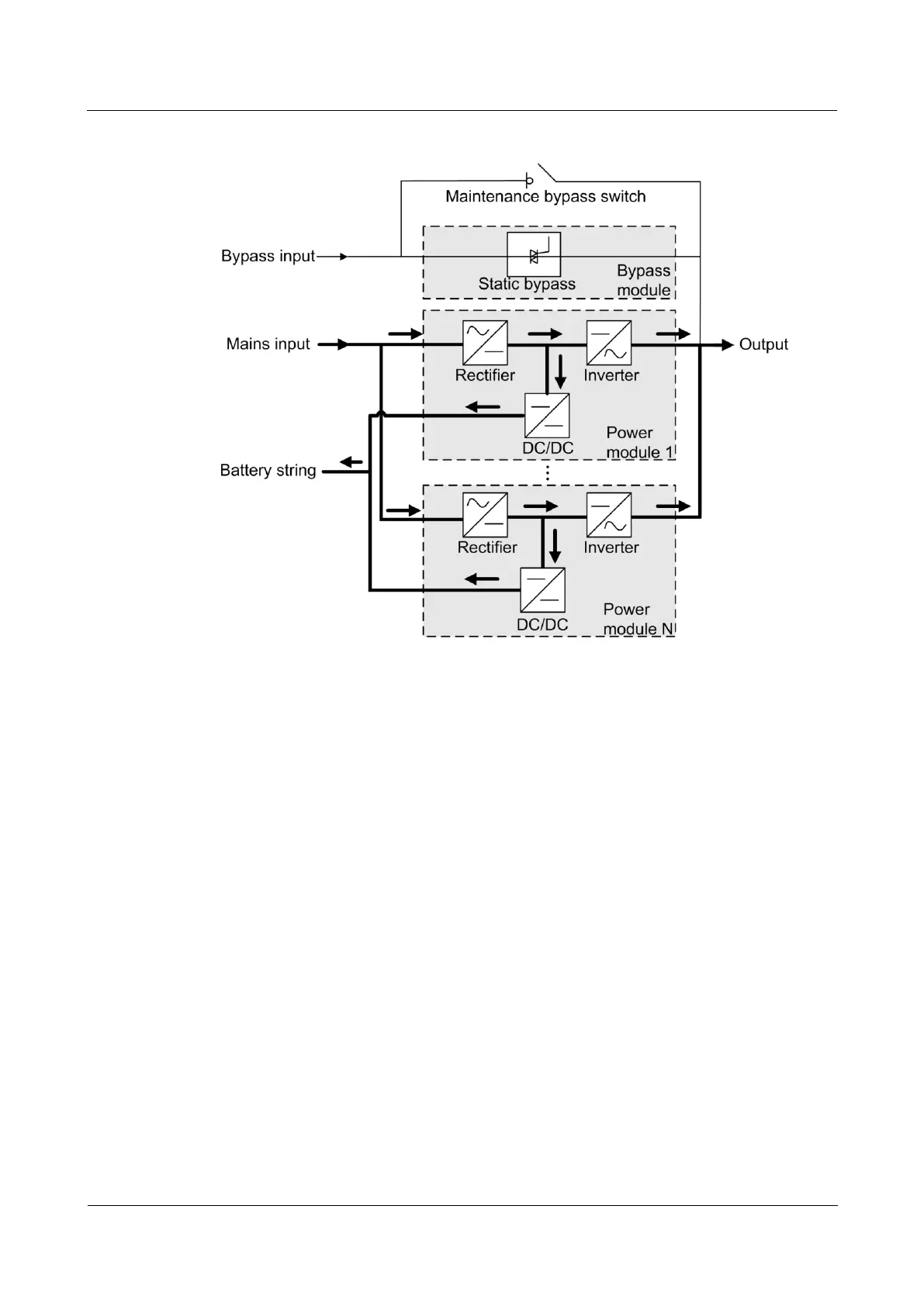
Figure 2-3 UPS conceptual diagram in normal mode
2.2.2.2 Bypass Mode
The UPS automatically transfers to bypass mode upon detecting power module
overtemperature, overload, or other faults that may cause the inverter to shut down. The
bypass power supply is not protected by the UPS which means it may be affected by mains
outage, and incorrect AC voltage or frequency. Figure 2-4 shows a conceptual diagram of the
UPS working in bypass mode.

Table of Contents

Other manuals for Huawei UPS5000-E-200K-FM

Related product manuals