EasyManua.ls Logo

IBM A40I TYPE 2271 - A40;A40 P;A40 I System Board Layout; System Board Locations; System Board Jumper Settings

IBM A40I TYPE 2271
148 pages
Print Icon
To Next Page IconTo Next Page
To Next Page IconTo Next Page
To Previous Page IconTo Previous Page
To Previous Page IconTo Previous Page
Loading...
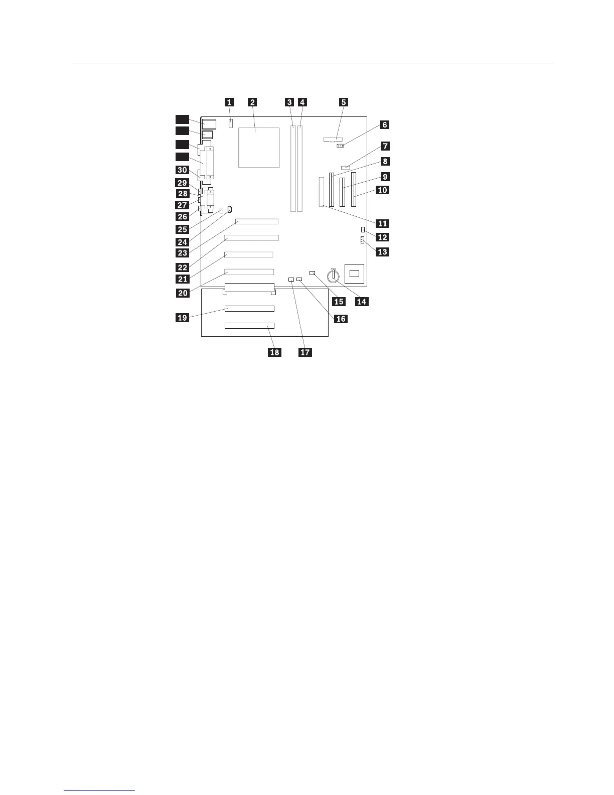
A40/A40P/A40i system board layout
32
31
33
34
System board locations
1CPU fan connector 18PCI slot 5
2Microprocessor 19 PCI slot 4
3DIMM 0 20 PCI slot 3
4DIMM 1 21 PCI slot 2
5Power LED connector 22 PCI slot 1
6RFID connector 23 AGP slot
7Front USB connector 24 CD-ROM audio
8Secondary IDE connector 25 Speaker connector
9Diskette connector 26 Audio output
10Primary IDE connector 27 Audio input
11Power connector 28 Serial port 2
12CMOS clear/recovery jumper 29 Microphone input
13Fan connector 30 Monitor port
14Battery 31 Parallel port
15SCSI adapter LED connector 32 Serial port 1
16 Alert on LAN 33 USB connectors
17 Wake on LAN 34 Mouse and keyboard connectors
System board jumper settings
The following table contains the jumper setting information. (D) indicates the
default setting.
Chapter 5. FRU Replacements 29

Table of Contents

Related product manuals