EasyManua.ls Logo

IBM THINKPAD T22 - 2030 Inverter Card

IBM THINKPAD T22
176 pages
Print Icon
To Next Page IconTo Next Page
To Next Page IconTo Next Page
To Previous Page IconTo Previous Page
To Previous Page IconTo Previous Page
Loading...
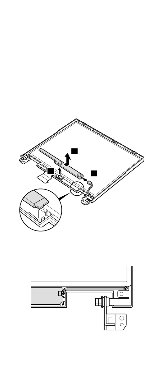
2030 Inverter card
For access, remove these FRUs, in order:
v 1010 Battery pack on page 58
v 1020 Backup battery on page 59
v 1030 Hard-disk drive on page 61
v 1070 Ultrabay 2000 device on page 71
v 1080 Keyboard on page 72
v 1090 Keyboard CRU insulator on page 80
v 1100 Hinge cover on page 81
v 1110 Keyboard bezel on page 86
v 1120 Fan assembly on page 92
v 2010 LCD assembly on page 119
v 2020 Front bezel on page 122
1
3
2
Cable routing: When replacing the inverter card, route
the connector cable as in the following
figure:
Removing and replacing a FRU
ThinkPad T20, T21, T22 and T23 series 123

Table of Contents

Related product manuals