EasyManua.ls Logo

Icom IC-FR4000 - Page 45

Icom IC-FR4000
79 pages
Print Icon
To Next Page IconTo Next Page
To Next Page IconTo Next Page
To Previous Page IconTo Previous Page
To Previous Page IconTo Previous Page
Loading...
6 - 3
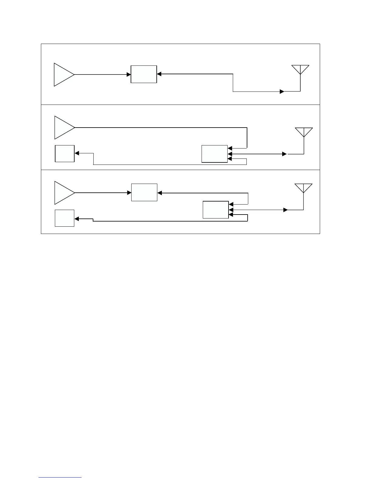
CONNECTION
PA
RX
DUP
RX
ISO
PA
DUP
PA
ISO
ISO: ISOLATER
DUP: DUPLEXER
EXAMPLE 1 : ISOLATER CONNECTION
EXAMPLE 3: DUPLEXER AND ISOLATER CONNECTION
EXAMPLE 2 : DUPLEXER CONNECTION
J1
J1

Other manuals for Icom IC-FR4000

Related product manuals