EasyManua.ls Logo

Icom IC-M802 - Page 72

Icom IC-M802
141 pages
Print Icon
To Next Page IconTo Next Page
To Next Page IconTo Next Page
To Previous Page IconTo Previous Page
To Previous Page IconTo Previous Page
Loading...
3 - 4
3-2-5 RF CIRCUIT (MAIN, PA UNITS AND DRIVER
BOARD)
The RF circuit amplifies operating (transmitting) frequency
to obtain 150 W of RF output.
The signal from the 1st IF mixer is passed through one of the
low-pass filter or bandpass filters (Refer to page 4-1 band-
pass filters used), and then applied to the YGR amplifier
(IC1, pin 1) after being passed through the attenuator
(R5R7). The amplified signal passes through the low-pass
filter (L1L3, C1C7) and attenuator (R1R3), and then
applied to the PA unit via J1.
The signal applied from the MAIN unit is amplified at 2
amplifiers (PA unit; Q6101 and Q6801). A part of output sig-
nal from 2 amplifiers are applied to the amplifiers to improve
the frequency characteristic by feedback. The amplified sig-
nal is applied to the drive amplifier (DRIVER board; Q6851)
via the J6301 as DRVI signal. The signal from the DRIVER
board passes through the impedance converter (PA unit;
L6301), and then applied to push-pull amplifiers (PA unit;
Q6401, Q6402) to obtain a stable 150 W of RF output
power. A part of the RF output power returns to the ampli-
fiers to obtain a stable gain between 1.6 MHz and 27.5 MHz
bands by using feedback transformer (L6404). The output
power is applied to the filter unit via the J6401 as FLIN sig-
nal.
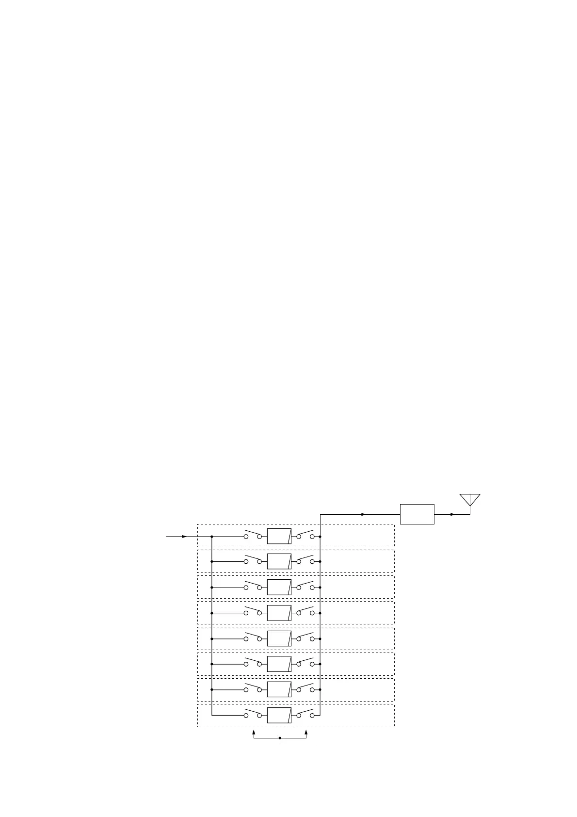
The amplified signal is applied to the one of the 8 low-pass
filters which are composed chebychev type.
1.61.9999 MHz signal
The signal is applied to the relay (FILTER unit; RL7031)
which is controlled by the band control IC (MAIN unit;
IC3602) as the L1M signal via the buffer amplifier (MAIN
unit; IC1301, pin 11). The signal passes through the low-
pass filter (FILTER unit; L7036L7038, C7033C7039,
C7041C7045, C7049), and then applied to the RL7032.
22.9999 MHz signal
The signal is applied to the relay (FILTER unit; RL7061)
which is controlled by the band control IC (MAIN unit;
IC3602) as the L2M signal via the buffer amplifier (MAIN
unit; IC1301, pin 12). The signal passes through the low-
pass filter (FILTER unit; L7066L7068, C7063C7084,
C7086, C7087), and then applied to the RL7062.
34.9999 MHz signal
The signal is applied to the relay (FILTER unit; RL7091)
which is controlled by the band control IC (MAIN unit;
IC3602) as the L4M signal via the buffer amplifier (MAIN
unit; IC1301, pin 12). The signal passes through the low-
pass filter (FILTER unit; L7096L7098, C7094C7096,
C7098C7101, C7105C7107), and then applied to the
RL7092.
56.9999 MHz signal
The signal is applied to the relay (FILTER unit; RL7121)
which is controlled by the band control IC (MAIN unit;
IC3602) as the L6M signal via the buffer amplifier (MAIN
unit; IC1301, pin 14). The signal passes through the low-
pass filter (FILTER unit; L7126L7128, C7124C7132,
C7136, C7137), and then applied to the RL7122.
79.9999 MHz signal
The signal is applied to the relay (FILTER unit; RL7151)
which is controlled by the band control IC (MAIN unit;
IC3602) as the L8M signal via the buffer amplifier (MAIN
unit; IC1301, pin 15). The signal passes through the low-
pass filter (FILTER unit; L7066L7068, C7063C7084,
C7086, C7087), and then applied to the RL7152.
1013.9999 MHz signal
The signal is applied to the relay (FILTER unit; RL7181)
which is controlled by the band control IC (MAIN unit;
IC3602) as the L12M signal via the buffer amplifier (MAIN
unit; IC1301, pin 16). The signal passes through the low-
pass filter (FILTER unit; L7182L7184, C7183C7188,
C7193), and then applied to the RL7182.
Antenna
power
detector
LPF
LPF
Filter: L0
1.61.9999 MHz
Filter: L1
22.9999 MHz
Filter: L2
34.9999 MHz
Filter: L3
56.9999 MHz
Filter: L4
79.9999 MHz
Filter: L5
1013.9999 MHz
Filter: L6
1419.9999 MHz
Filter: L7
low-pass filter control signals
from the MAIN unit
2029.9999 MHz
LPF
LPF
LPF
LPF
LPF
LPF
(L1M, L2M, L4M, L6M, L8M, L16M, L22M)
Transmitter signals
from the PA unit.
RF FILTER CIRCUIT

Other manuals for Icom IC-M802

Related product manuals