EasyManua.ls Logo

Icom IP100H - Advanced Calling Features

Icom IP100H
57 pages
Print Icon
To Next Page IconTo Next Page
To Next Page IconTo Next Page
To Previous Page IconTo Previous Page
To Previous Page IconTo Previous Page
Loading...
DGX-IP1000C/IP100H -V1.0
20
STEP 5: DEMONSTRATION
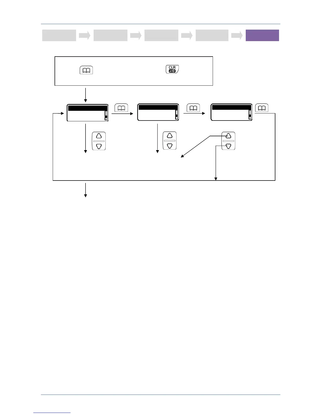
Group
0001
Group Call
Individual
0001
Sales1
All
All
Next or previous
group numbers
appear.
Next or previous
individual numbers
appear.
Enter the ID list mode
Exit the ID list mode
While holding down [PTT], speak into the microphone at a normal voice level.
You can communicate with selected ID’s IP100Hs.
Push
Push Push Push
Push
Push
Push
Push
STEP 1
STEP 2
STEP 3
STEP 5 STEP 4

Other manuals for Icom IP100H

Related product manuals