EasyManua.ls Logo

IDEC FC4A-C16R2 - Page 297

IDEC FC4A-C16R2
525 pages
Print Icon
To Next Page IconTo Next Page
To Next Page IconTo Next Page
To Previous Page IconTo Previous Page
To Previous Page IconTo Previous Page
Loading...
17: USER COMMUNICATION INSTRUCTIONS
« FC4A MICROSMART USERS MANUAL » 17-19
(2) When RXD1/RXD2 instructions with start delimiters STX (02h) and ENQ (05h) are executed
Designating Constant as End Delimiter
An end delimiter can be programmed at other than the first byte in the receive format of a RXD instruction; the Micro-
Smart
will recognize the end of valid communication, although RXD instructions without an end delimiter can also be
executed.
When a constant value is designated at other than the first byte of source operand S1, the one- or multiple-byte data serves
as an end delimiter to end the processing of the received data. The valid end delimiter value depends on the data bits
selected in the Communication Parameters dialog box, which is called from Configure > Fun Area Settings > Commu-
nication, followed by selecting User Protocol in Port 1 or Port 2 list box and clicking the Configure button. When 7 data
bits are selected as default, end delimiters can be 00h through 7Fh. When 8 data bits are selected, end delimiters can be
00h through FFh. Constant values are entered in character or hexadecimal notation into the source data.
If a character in incoming data matches the end delimiter, the RXD instruction ends receiving data at this point and starts
subsequent receive processing as specified. Even if a character matches the end delimiter at a position earlier than
expected, the RXD instruction ends receiving data there.
If a BCC code is included in the receive format of a RXD instruction, an end delimiter can be positioned immediately
before or after the BCC code. If a data register or skip is designated between the BCC and end delimiter, correct receiving
is not ensured.
When a RXD instruction without an end delimiter is executed, data receiving ends when the specified bytes of data in the
receive format, such as data registers and skips, have been received. In addition, data receiving also ends when the interval
between incoming data characters exceeds the receive timeout value specified in the Communication Parameters dialog
box whether the RXD has an end delimiter or not. The character interval timer is started when the first character of incom-
ing communication is received and restarted each time the next character is received. When a character is not received
within a predetermined period of time, timeout occurs and the RXD ends data receive operation.
****
h
D100
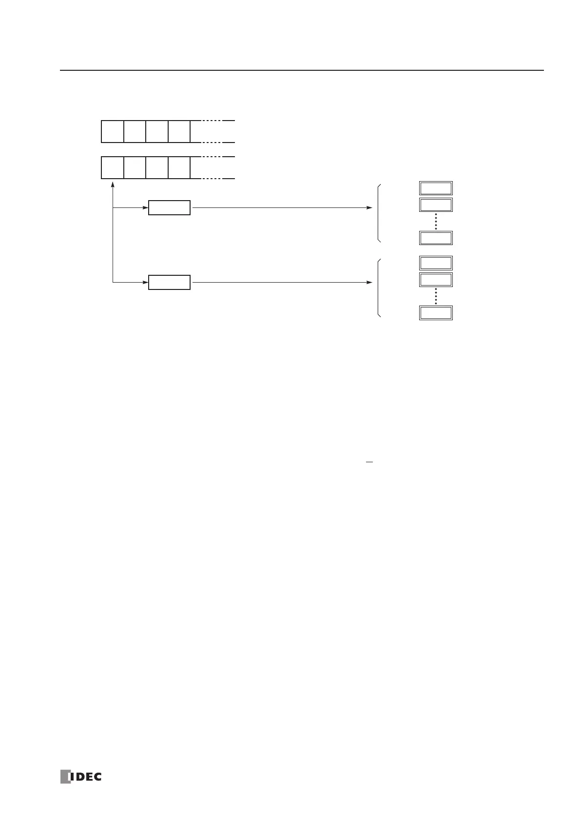
RXD Instruction 1
STX
(02h)
“1”
(31h)
“2”
(32h)
“3”
(33h)
Incoming Data
****
h
D100+n
****
h
D101
The incoming data is divided, converted, and stored to data registers according to the receive format.
Start delimiters are not stored to data registers.
ENQ
(05h)
“A”
(41h)
“B”
(42h)
“C”
(43h)
STX (02h)
When D100 is designated as the first data register
****
h
D200
RXD Instruction 2
****
h
D200+n
****
h
D201
ENQ (05h)
When D200 is designated as the first data register
Compare

Table of Contents

Related product manuals