EasyManua.ls Logo

Ikra IPCS 46 - Installazione Della Barra DI Guida E Della Catena Della Sega

Ikra IPCS 46
Print Icon
To Next Page IconTo Next Page
To Next Page IconTo Next Page
To Previous Page IconTo Previous Page
To Previous Page IconTo Previous Page
Loading...
7
IT | Istruzioni per l’uso
3) Assicurarsi che la zona in cui si taglia
sia sgombra da ostacoli. Evitare che
la punta della barra di guida entri
in contatto con legno, rami o altri
ostacoli che potrebbero essere toccati
mentre si lavora con la sega.
4) Tagliare con il motore che gira a forte
velocità.
5) Non sopravvalutare le proprie forze e
non tagliare al di sopra delle spalle.
6) Attenersi alle istruzioni del produttore
per aflare e alle istruzioni di
manutenzione per la catena della
sega.
7) Utilizzare soltanto barre di guida e
catene di ricambio del tipo consigliato
dal produttore.
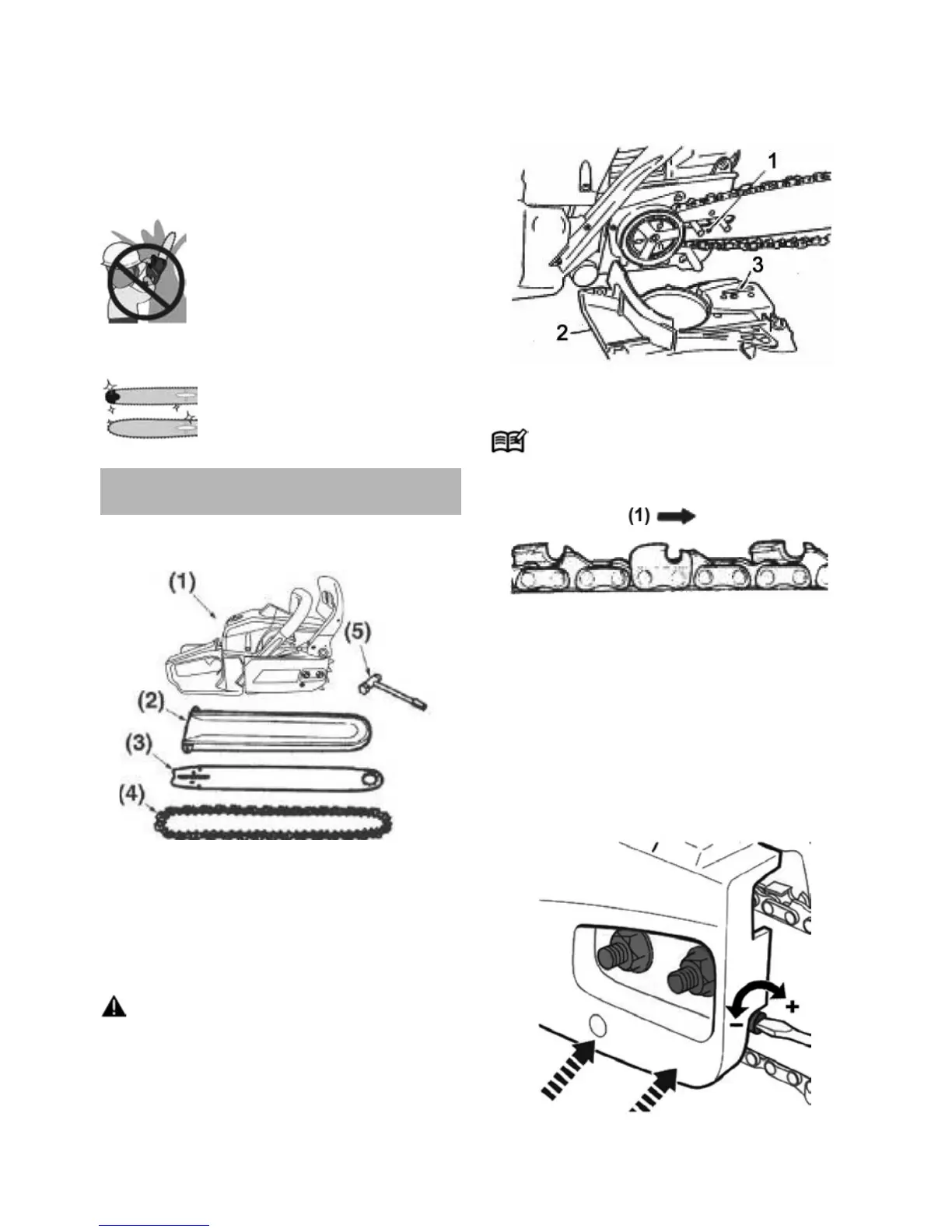
5. Installazione della barra di guida e della
catena della sega
La confezione della sega a catena contiene i seguenti
elementi:
1) Azionamento (motore)
2) Protezione guida
3) Barra di guida
4) Catena della sega
5) Chiave a tubo
Aprirla e montare la barra di guida e la catena della sega
sul motore come indicato di seguito.
AVVERTIMENTO
La catena della sega ha denti taglienti molto aflati.
Utilizzare guanti di protezione.
1. Tirare la protezione in direzione della maniglia
anteriore per controllare che il freno della catena
non sia attivato.
2. Svitare le viti e rimuovere la copertura della catena.
3. Poggiare la catena sul rocchetto e durante il
montaggio della catena della sega attorno alla barra
di guida montare la barra di guida sull’unità del
motore. Regolare la posizione della vite di messa in
tensione della catena.
1) Foro
2) Copertura della catena
3) Bullone di messa in tensione della catena
INDICAZIONE
Fare attenzione alla corretta direzione di scorrimento
della catena della sega.
1) Direzione di scorrimento
4. Montare la barra di guida, poi aggiustare la catena
della sega attorno alla barra di guida e al rocchetto.
5. Inserire il bullone di messa in tensione della catena
nel foro inferiore della barra di guida, poi montare
la copertura della catena e svitare manualmente il
dado di ssaggio.
6. Mentre si tiene alta l’estremità della barra di guida,
regolare la tensione della catena ruotando la vite di
messa in tensione no a quando la catena della sega
non tocca il lato inferiore della barra di guida.
7. Stringere bene i due dadi M8 (12 ~ 15 nm).
Controllare se la catena scorre senza problemi e
se la tensione è corretta spostandola manualmente.
1
1) Vite di regolazione tensione catena
8. Se necessario, serrare ancora una volta la catena
con i dadi allentati.

Table of Contents

Related product manuals