EasyManua.ls Logo

Ikra IPCS 46 - Instalación del Perfil de Guía y de la Cadena de Aserrado

Ikra IPCS 46
Print Icon
To Next Page IconTo Next Page
To Next Page IconTo Next Page
To Previous Page IconTo Previous Page
To Previous Page IconTo Previous Page
Loading...
7
ES | Instrucciones de servicio
rior y la izquierda en el delantero, cuan-
do la máquina esté en marcha. Utilice
siempre un mango rmemente sujeto
con el pulgar y los dedos alrededor de
los mangos de la motosierra. Un mango
rme le ayuda a reducir el retroceso,
con lo que podrá mantener el control de
la motosierra. No suelte ésta.
3) Asegúrese de que la zona en la que
va a cortar está libre de obstáculos.
No deje que el saliente del perl guía
entre en contacto con madera, ramas u
otros estorbos que pudieran contactar
mientras esté trabajando activamente
con la motosierra.
4) Corte con una elevada velocidad del
motor.
5) No sobreestime sus fuerzas y no corte
a una altura superior a sus hombros.
6) Siga las instrucciones del fabricante
respecto al alado y el mantenimiento
de la cadena de aserrado.
7) Utilice solo perles y cadenas de re-
cambio recomendados por el fabrican-
te.
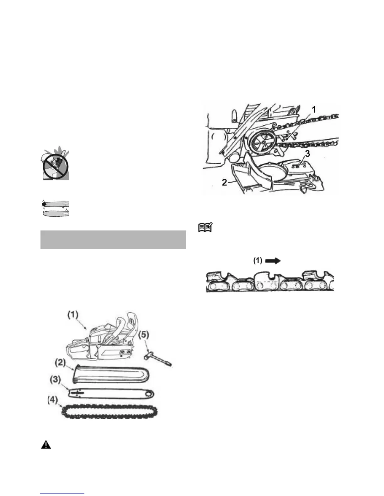
5. Instalación del perl guía y de la cadena
de aserrado
El embalaje de la motosierra contiene los elementos, tal
como se representa más abajo:
1) Accionamiento (motor)
2) Protección de perl
3) Perl guía
4) Cadena de aserrado
5) Llave de tubo
Ábralo e instale el perl guía y la cadena de aserrado
en la parte del motor del modo indicado a continuación.
ADVERTENCIA
La cadena de aserrado tiene piezas cortadoras muy
aladas. Utilice los guantes de protección para su se-
guridad.
1. Tire de la protección en dirección al mango delantero
para comprobar si no está activado el freno de la
cadena.
2. Aoje los tornillos y quite la cubierta de la cadena.
3. Ponga la cadena sobre la rueda dentada para cade-
na y durante el montaje de la cadena de aserrado
alrededor del perl guía, monte el perl guía en la
unidad del motor. Ajuste la posición del tornillo tensor
de la cadena.
1) Oricio
2) Cubierta de la cadena
3) Perno tensor de la cadena
INDICACIÓN
Preste atención al sentido de marcha correcto de la
cadena de aserrado.
1) Dirección de movimiento
4. Monte el perl guía y adapte a continuación la cade-
na de aserrado alrededor del perl guía y de la rueda
dentada para cadena.
5. Coloque el perno tensor de la cadena y en el oricio
inferior del perl guía, coloque a continuación la cu-
bierta de la cadena y enrosque la tuerca de jación
manualmente.
6. Manteniendo en alto la punta del perl, tense la
cadena girando el tornillo tensor hasta que la ca-
dena de aserrado contacte con el lado inferior del
perl guía.
7. Apriete las dos tuercas M 8 (12 ~ 15 nm). Comprue-
be a continuación si la cadena presenta una marcha
suave y si la tensión es la correcta, moviendo la
cadena manualmente.

Table of Contents

Related product manuals