EasyManua.ls Logo

Ikra IPCS 46 - Page 82

Ikra IPCS 46
Print Icon
To Next Page IconTo Next Page
To Next Page IconTo Next Page
To Previous Page IconTo Previous Page
To Previous Page IconTo Previous Page
Loading...
10
RU | Инструкция по эксплуатации
ПРОВЕРКА ПОДАЧИ МАСЛА
После запуска двигателя запустить цепь на средних
оборотах и проверить разбрызгивание масла с цепи,
как указано на рисунке.
1) Цепное масло
Дебит цепного масла можно изменить, вставляя
отвертку в отверстие на дне со стороны сцепления.
Отрегулировать в соответствии с эксплуатационными
условиями.
1) Шток регулировки
дебита цепного
масла
2) Больше
3) Меньше
ВАЖНО
К моменту израсходования топлива масляной
резервуар должен быть почти пустым. Не забывать
заполнять масляной резервуар при каждой заправке
пилы топливом.
Контроль функций соединительной муфты
Каждый раз, прежде чем начать эксплуатацию,
удостоверьтесь в том, что цепь остается неподвижной
во время холостого хода.
Регулировка карбюратора
Карбюратор вашей машины отрегулирован на
заводе, но может оказаться необходимым сделать
точную настройку из-за изменения эксплуатационных
условий. Перед регулировкой карбюратора
убедиться, что имеются чистые фильтры для воздуха
и топлива, а также свежая, правильно изготовленная
топливная смесь.
Для регулирования выполнить следующие шаги:
ВАЖНО
Карбюратор необходимо регулировать вместе с
прикрепленной шиной и цепью.
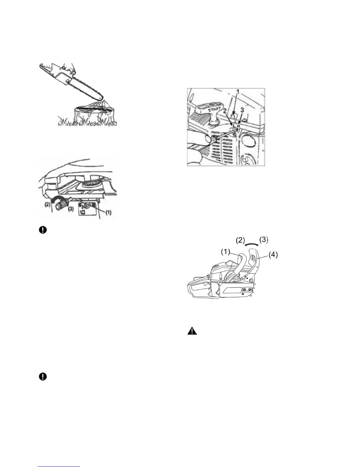
1. Иглы H (высокие обороты) и L (низкие обороты)
ограничены числом оборотов, как указано ниже.
Игла H:
1
/
4
Игла L:
1
/
4
2. Запустить двигатель и дать ему прогреться на
оборотах холостого хода в течение нескольких
минут.
3. Поворачивать регулирующий винт (T) против
часовой стрелки таким образом, чтобы цепь
перестала крутиться. Если обороты холостого
хода слишком низкие, повернуть винт по часовой
стрелке.
4. Сделайте пробную резку, регулируйте иглу H
для наилучшей мощности резания, а не для
максимальных оборотов.
1) Винт регулировки
холостого хода
2) Игла L
3) Игла H
Тормоз цепи
Тормоз цепи - это устройство, которое тормозит
цепь мгновенно, если цепная пила отскочила из-за
отдачи. Обычно тормоз включается автоматически
инерционной силой. Его можно включить
также и вручную нажатием тормозного рычага
(предохранитель передней рукоятки) вниз и вперед.
При включении тормоза выскакивает белый конус в
основе тормозного рычага.
1) Передняя рукоятка
2) Освобождение
3) Тормоз
4) Предохранитель
передней рукоятки
Чтобы освободить тормоз, потянуть вверх
предохранитель передней рукоятки к рукоятке, пока
услышите щелчок.
ПРЕДУПРЕЖДЕНИЕ
При включении тормоза отпустить сектор газа,
чтобы уменьшить обороты двигателя. Непрерывная
работа с включенным тормозом будет генерировать
тепло в сцеплении и может вызвать повреждение.
Проверяйте работу тормоза при ежедневном
осмотре.
Как проверить:
1. Выключить двигатель.
2. Держа пилу горизонтально, освободить руку с
передней рукоятки, стукнуть конец направляющей
шины о пень или кусок дерева и подтвердить
работу тормоза. Уровень работы завысить от
размера шины.
Если тормоз недостаточно эффективен,
потребуйте проверку нашим дилером и ремонт.

Table of Contents

Related product manuals